三级综合医院护士管理人员心理资本、工作生活质量和职业成功关系的横断面研究

IF 3.9 2区 医学 Q1 NURSING
Cuicui Zhang, Wenjing Xu, Lili Zhu, Changju Liao
{"title":"三级综合医院护士管理人员心理资本、工作生活质量和职业成功关系的横断面研究","authors":"Cuicui Zhang, Wenjing Xu, Lili Zhu, Changju Liao","doi":"10.1186/s12912-025-03854-8","DOIUrl":null,"url":null,"abstract":"<p><strong>Background: </strong>Nurse managers' career success is crucial for healthcare quality, nursing workforce stability, and field advancement. While demographic and organizational factors are well-documented predictors, the impact of psychological mechanisms, specifically psychological capital mediated through quality of work life, remains insufficiently researched. This research aims to investigate the current state of career success among nurse managers and to explore the mediating effect of quality of work life between psychological capital and career success.</p><p><strong>Methods: </strong>A national cross-sectional study was conducted in 2023 with 2,085 Chinese nurse managers recruited from 51 tertiary general hospitals through multi-stage stratified proportional sampling. The participants completed an online questionnaire assessing their psychological capital, quality of work life, and career success. The Statistical Package for the Social Sciences version 26 was used for descriptive analysis, Pearson correlation analysis, hierarchical multiple linear regression, and structural equation modeling to analyze the data and confirm the relationships between the variables using Mplus version 7.0 software.</p><p><strong>Results: </strong>The career success score was 37.09 ± 8.02. There was a positive correlation between psychological capital, quality of work life, and career success, with coefficients ranging from 0.573 to 0.673. Psychological capital and quality of work life explained 38.0% and 14.0% of the variance in career success, respectively. The structural equation modeling results showed that psychological capital positively and directly predicted career success (β = 0.371, P < 0.001), and indirectly affected career success via quality of work life (β = 0.346, P < 0.001). The final model explained 72.3% of the variance in career success.</p><p><strong>Conclusion: </strong>Psychological capital was positively correlated with career success among nurse managers, and the quality of work life partially mediated this relationship. Thus, interventions emphasizing these two factors may be beneficial in improving the career success of nurse managers. Hospital administrators should cultivate positive personalities in nurse managers to enhance their psychological capital, improve their quality of work life, help them grow within the organization, achieve career success, and ensure the quality of nursing and its effectiveness.</p><p><strong>Clinical trial number: </strong>Not applicable.</p>","PeriodicalId":48580,"journal":{"name":"BMC Nursing","volume":"24 1","pages":"1182"},"PeriodicalIF":3.9000,"publicationDate":"2025-09-26","publicationTypes":"Journal Article","fieldsOfStudy":null,"isOpenAccess":false,"openAccessPdf":"https://www.ncbi.nlm.nih.gov/pmc/articles/PMC12465340/pdf/","citationCount":"0","resultStr":"{\"title\":\"Relationships between psychological capital, quality of work life and career success among nurse managers in tertiary general hospitals: a cross-sectional study.\",\"authors\":\"Cuicui Zhang, Wenjing Xu, Lili Zhu, Changju Liao\",\"doi\":\"10.1186/s12912-025-03854-8\",\"DOIUrl\":null,\"url\":null,\"abstract\":\"<p><strong>Background: </strong>Nurse managers' career success is crucial for healthcare quality, nursing workforce stability, and field advancement. While demographic and organizational factors are well-documented predictors, the impact of psychological mechanisms, specifically psychological capital mediated through quality of work life, remains insufficiently researched. This research aims to investigate the current state of career success among nurse managers and to explore the mediating effect of quality of work life between psychological capital and career success.</p><p><strong>Methods: </strong>A national cross-sectional study was conducted in 2023 with 2,085 Chinese nurse managers recruited from 51 tertiary general hospitals through multi-stage stratified proportional sampling. The participants completed an online questionnaire assessing their psychological capital, quality of work life, and career success. The Statistical Package for the Social Sciences version 26 was used for descriptive analysis, Pearson correlation analysis, hierarchical multiple linear regression, and structural equation modeling to analyze the data and confirm the relationships between the variables using Mplus version 7.0 software.</p><p><strong>Results: </strong>The career success score was 37.09 ± 8.02. There was a positive correlation between psychological capital, quality of work life, and career success, with coefficients ranging from 0.573 to 0.673. Psychological capital and quality of work life explained 38.0% and 14.0% of the variance in career success, respectively. The structural equation modeling results showed that psychological capital positively and directly predicted career success (β = 0.371, P < 0.001), and indirectly affected career success via quality of work life (β = 0.346, P < 0.001). The final model explained 72.3% of the variance in career success.</p><p><strong>Conclusion: </strong>Psychological capital was positively correlated with career success among nurse managers, and the quality of work life partially mediated this relationship. Thus, interventions emphasizing these two factors may be beneficial in improving the career success of nurse managers. Hospital administrators should cultivate positive personalities in nurse managers to enhance their psychological capital, improve their quality of work life, help them grow within the organization, achieve career success, and ensure the quality of nursing and its effectiveness.</p><p><strong>Clinical trial number: </strong>Not applicable.</p>\",\"PeriodicalId\":48580,\"journal\":{\"name\":\"BMC Nursing\",\"volume\":\"24 1\",\"pages\":\"1182\"},\"PeriodicalIF\":3.9000,\"publicationDate\":\"2025-09-26\",\"publicationTypes\":\"Journal Article\",\"fieldsOfStudy\":null,\"isOpenAccess\":false,\"openAccessPdf\":\"https://www.ncbi.nlm.nih.gov/pmc/articles/PMC12465340/pdf/\",\"citationCount\":\"0\",\"resultStr\":null,\"platform\":\"Semanticscholar\",\"paperid\":null,\"PeriodicalName\":\"BMC Nursing\",\"FirstCategoryId\":\"3\",\"ListUrlMain\":\"https://doi.org/10.1186/s12912-025-03854-8\",\"RegionNum\":2,\"RegionCategory\":\"医学\",\"ArticlePicture\":[],\"TitleCN\":null,\"AbstractTextCN\":null,\"PMCID\":null,\"EPubDate\":\"\",\"PubModel\":\"\",\"JCR\":\"Q1\",\"JCRName\":\"NURSING\",\"Score\":null,\"Total\":0}","platform":"Semanticscholar","paperid":null,"PeriodicalName":"BMC Nursing","FirstCategoryId":"3","ListUrlMain":"https://doi.org/10.1186/s12912-025-03854-8","RegionNum":2,"RegionCategory":"医学","ArticlePicture":[],"TitleCN":null,"AbstractTextCN":null,"PMCID":null,"EPubDate":"","PubModel":"","JCR":"Q1","JCRName":"NURSING","Score":null,"Total":0}
引用次数: 0

摘要

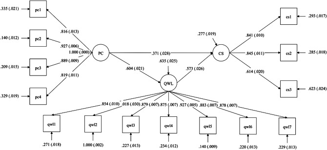
背景:护士管理者的职业成功对医疗质量、护理队伍稳定性和领域发展至关重要。虽然人口和组织因素是有充分记录的预测因素,但心理机制的影响,特别是通过工作生活质量介导的心理资本的影响,仍然没有得到充分的研究。本研究旨在了解护理管理人员的职业成功现状,并探讨工作生活质量在心理资本与职业成功之间的中介作用。方法:采用多阶段分层比例抽样方法,于2023年在全国51家三级综合医院招募2085名护士管理人员进行横断面研究。参与者完成了一份在线问卷,评估他们的心理资本、工作生活质量和职业成功。采用Statistical Package for The Social Sciences version 26进行描述性分析、Pearson相关分析、层次多元线性回归和结构方程建模,采用Mplus version 7.0软件对数据进行分析,确认变量之间的关系。结果:职业成功得分为37.09±8.02分。心理资本、工作生活质量与职业成功呈正相关,相关系数在0.573 ~ 0.673之间。心理资本和工作生活质量分别解释了38.0%和14.0%的职业成功差异。结构方程建模结果显示,心理资本对护理管理人员的职业成功具有正向、直接的预测作用(β = 0.371, P)。结论:心理资本与护理管理人员的职业成功存在正相关,工作生活质量在其中起部分中介作用。因此,强调这两个因素的干预措施可能有利于提高护理管理人员的职业成功。医院管理者应培养护士管理者的积极人格,以增强其心理资本,提高其工作生活质量,帮助其在组织中成长,实现事业成功,确保护理质量和效果。临床试验号:不适用。
本文章由计算机程序翻译,如有差异,请以英文原文为准。

Relationships between psychological capital, quality of work life and career success among nurse managers in tertiary general hospitals: a cross-sectional study.

Relationships between psychological capital, quality of work life and career success among nurse managers in tertiary general hospitals: a cross-sectional study.

Background: Nurse managers' career success is crucial for healthcare quality, nursing workforce stability, and field advancement. While demographic and organizational factors are well-documented predictors, the impact of psychological mechanisms, specifically psychological capital mediated through quality of work life, remains insufficiently researched. This research aims to investigate the current state of career success among nurse managers and to explore the mediating effect of quality of work life between psychological capital and career success.

Methods: A national cross-sectional study was conducted in 2023 with 2,085 Chinese nurse managers recruited from 51 tertiary general hospitals through multi-stage stratified proportional sampling. The participants completed an online questionnaire assessing their psychological capital, quality of work life, and career success. The Statistical Package for the Social Sciences version 26 was used for descriptive analysis, Pearson correlation analysis, hierarchical multiple linear regression, and structural equation modeling to analyze the data and confirm the relationships between the variables using Mplus version 7.0 software.

Results: The career success score was 37.09 ± 8.02. There was a positive correlation between psychological capital, quality of work life, and career success, with coefficients ranging from 0.573 to 0.673. Psychological capital and quality of work life explained 38.0% and 14.0% of the variance in career success, respectively. The structural equation modeling results showed that psychological capital positively and directly predicted career success (β = 0.371, P < 0.001), and indirectly affected career success via quality of work life (β = 0.346, P < 0.001). The final model explained 72.3% of the variance in career success.

Conclusion: Psychological capital was positively correlated with career success among nurse managers, and the quality of work life partially mediated this relationship. Thus, interventions emphasizing these two factors may be beneficial in improving the career success of nurse managers. Hospital administrators should cultivate positive personalities in nurse managers to enhance their psychological capital, improve their quality of work life, help them grow within the organization, achieve career success, and ensure the quality of nursing and its effectiveness.

Clinical trial number: Not applicable.

求助全文
通过发布文献求助,成功后即可免费获取论文全文。 去求助
来源期刊
BMC Nursing
BMC Nursing Nursing-General Nursing
CiteScore
3.90
自引率
6.20%
发文量
317
审稿时长
30 weeks
期刊介绍: BMC Nursing is an open access, peer-reviewed journal that considers articles on all aspects of nursing research, training, education and practice.
×
引用
GB/T 7714-2015
复制
MLA
复制
APA
复制
导出至
BibTeX EndNote RefMan NoteFirst NoteExpress
×
提示
您的信息不完整,为了账户安全,请先补充。
现在去补充
×
提示
您因"违规操作"
具体请查看互助需知
我知道了
×
提示
确定
请完成安全验证×
copy
已复制链接
快去分享给好友吧!
我知道了
右上角分享
点击右上角分享
0
联系我们:info@booksci.cn Book学术提供免费学术资源搜索服务,方便国内外学者检索中英文文献。致力于提供最便捷和优质的服务体验。 Copyright © 2023 布克学术 All rights reserved.
京ICP备2023020795号-1
ghs 京公网安备 11010802042870号
Book学术文献互助
Book学术文献互助群
群 号:604180095
Book学术官方微信