铝的电解精炼

IF 0.3 Q4 METALLURGY & METALLURGICAL ENGINEERING
V. P. Tarasov, A. P. Lysenko, I. M. Komelin, D. N. Mulyk
{"title":"铝的电解精炼","authors":"V. P. Tarasov,&nbsp;A. P. Lysenko,&nbsp;I. M. Komelin,&nbsp;D. N. Mulyk","doi":"10.1134/S0036029525700740","DOIUrl":null,"url":null,"abstract":"<p><b>Abstract</b>—An electrolyte of the composition 220 g NaCl, 280 g KCl, and 60 g AlCl<sub>3</sub> is studied to check a possibility of using it for the refining of crude aluminum and aluminum scraps in a chloride electrolyte and achieving a melting point of the melt in a range of 700–750°C during electrolytic metal refining. The electrolyte is tested on a laboratory setup consisted of a Nabertherm furnace, an M381 voltmeter for measuring voltage, a TRM500 thermoregulator for measuring temperature, a V-24 rectifier for dc supply, and a laboratory cell. The main units of the laboratory cell are two corundum beakers of different sizes, an anodic current lead (Mo in a corundum case), and a cathodic steel rod with a graphite tip, the initial anodic alloy, and an electrolyte. The experiment is carried out at 707–726°C for 180 min using a current of 6–6.5 A and a voltage of 2.5–3.5 V. The weight of refined aluminum is 5.825 g, and the current efficiency is 92.5%. The electric energy consumption is 10.86 W h g<sup>–1</sup>. The obtained results confirm that the method can be used for the refining of crude aluminum and aluminum scraps to produce high-purity aluminum.</p>","PeriodicalId":769,"journal":{"name":"Russian Metallurgy (Metally)","volume":"2025 1","pages":"17 - 22"},"PeriodicalIF":0.3000,"publicationDate":"2025-08-28","publicationTypes":"Journal Article","fieldsOfStudy":null,"isOpenAccess":false,"openAccessPdf":"","citationCount":"0","resultStr":"{\"title\":\"Electrolytic Refining of Aluminum\",\"authors\":\"V. P. Tarasov,&nbsp;A. P. Lysenko,&nbsp;I. M. Komelin,&nbsp;D. N. Mulyk\",\"doi\":\"10.1134/S0036029525700740\",\"DOIUrl\":null,\"url\":null,\"abstract\":\"<p><b>Abstract</b>—An electrolyte of the composition 220 g NaCl, 280 g KCl, and 60 g AlCl<sub>3</sub> is studied to check a possibility of using it for the refining of crude aluminum and aluminum scraps in a chloride electrolyte and achieving a melting point of the melt in a range of 700–750°C during electrolytic metal refining. The electrolyte is tested on a laboratory setup consisted of a Nabertherm furnace, an M381 voltmeter for measuring voltage, a TRM500 thermoregulator for measuring temperature, a V-24 rectifier for dc supply, and a laboratory cell. The main units of the laboratory cell are two corundum beakers of different sizes, an anodic current lead (Mo in a corundum case), and a cathodic steel rod with a graphite tip, the initial anodic alloy, and an electrolyte. The experiment is carried out at 707–726°C for 180 min using a current of 6–6.5 A and a voltage of 2.5–3.5 V. The weight of refined aluminum is 5.825 g, and the current efficiency is 92.5%. The electric energy consumption is 10.86 W h g<sup>–1</sup>. The obtained results confirm that the method can be used for the refining of crude aluminum and aluminum scraps to produce high-purity aluminum.</p>\",\"PeriodicalId\":769,\"journal\":{\"name\":\"Russian Metallurgy (Metally)\",\"volume\":\"2025 1\",\"pages\":\"17 - 22\"},\"PeriodicalIF\":0.3000,\"publicationDate\":\"2025-08-28\",\"publicationTypes\":\"Journal Article\",\"fieldsOfStudy\":null,\"isOpenAccess\":false,\"openAccessPdf\":\"\",\"citationCount\":\"0\",\"resultStr\":null,\"platform\":\"Semanticscholar\",\"paperid\":null,\"PeriodicalName\":\"Russian Metallurgy (Metally)\",\"FirstCategoryId\":\"5\",\"ListUrlMain\":\"https://link.springer.com/article/10.1134/S0036029525700740\",\"RegionNum\":0,\"RegionCategory\":null,\"ArticlePicture\":[],\"TitleCN\":null,\"AbstractTextCN\":null,\"PMCID\":null,\"EPubDate\":\"\",\"PubModel\":\"\",\"JCR\":\"Q4\",\"JCRName\":\"METALLURGY & METALLURGICAL ENGINEERING\",\"Score\":null,\"Total\":0}","platform":"Semanticscholar","paperid":null,"PeriodicalName":"Russian Metallurgy (Metally)","FirstCategoryId":"5","ListUrlMain":"https://link.springer.com/article/10.1134/S0036029525700740","RegionNum":0,"RegionCategory":null,"ArticlePicture":[],"TitleCN":null,"AbstractTextCN":null,"PMCID":null,"EPubDate":"","PubModel":"","JCR":"Q4","JCRName":"METALLURGY & METALLURGICAL ENGINEERING","Score":null,"Total":0}
引用次数: 0

摘要

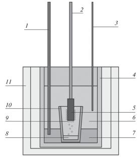
摘要:研究了一种由220 g NaCl、280 g KCl和60 g AlCl3组成的电解液,以考察其在氯化物电解液中精炼粗铝和铝屑的可能性,并在金属电解精炼过程中使熔点在700-750℃范围内。电解液在实验室装置上进行测试,该装置由Nabertherm炉、用于测量电压的M381电压表、用于测量温度的TRM500温度调节器、用于直流电源的V-24整流器和实验室电池组成。实验室电池的主要单元是两个不同尺寸的刚玉烧杯,阳极电流引线(刚玉为Mo),带石墨尖端的阴极钢棒,初始阳极合金和电解质。实验温度为707-726°C,电流为6-6.5 a,电压为2.5-3.5 V,持续180分钟。精铝重量为5.825 g,电流效率为92.5%。电能消耗10.86 W h g-1。试验结果表明,该方法可用于粗铝和废铝的精炼,生产出高纯铝。
本文章由计算机程序翻译,如有差异,请以英文原文为准。

Electrolytic Refining of Aluminum

Electrolytic Refining of Aluminum

Electrolytic Refining of Aluminum

Abstract—An electrolyte of the composition 220 g NaCl, 280 g KCl, and 60 g AlCl3 is studied to check a possibility of using it for the refining of crude aluminum and aluminum scraps in a chloride electrolyte and achieving a melting point of the melt in a range of 700–750°C during electrolytic metal refining. The electrolyte is tested on a laboratory setup consisted of a Nabertherm furnace, an M381 voltmeter for measuring voltage, a TRM500 thermoregulator for measuring temperature, a V-24 rectifier for dc supply, and a laboratory cell. The main units of the laboratory cell are two corundum beakers of different sizes, an anodic current lead (Mo in a corundum case), and a cathodic steel rod with a graphite tip, the initial anodic alloy, and an electrolyte. The experiment is carried out at 707–726°C for 180 min using a current of 6–6.5 A and a voltage of 2.5–3.5 V. The weight of refined aluminum is 5.825 g, and the current efficiency is 92.5%. The electric energy consumption is 10.86 W h g–1. The obtained results confirm that the method can be used for the refining of crude aluminum and aluminum scraps to produce high-purity aluminum.

求助全文
通过发布文献求助,成功后即可免费获取论文全文。 去求助
来源期刊
Russian Metallurgy (Metally)
Russian Metallurgy (Metally) METALLURGY & METALLURGICAL ENGINEERING-
CiteScore
0.70
自引率
25.00%
发文量
140
期刊介绍: Russian Metallurgy (Metally)  publishes results of original experimental and theoretical research in the form of reviews and regular articles devoted to topical problems of metallurgy, physical metallurgy, and treatment of ferrous, nonferrous, rare, and other metals and alloys, intermetallic compounds, and metallic composite materials. The journal focuses on physicochemical properties of metallurgical materials (ores, slags, matters, and melts of metals and alloys); physicochemical processes (thermodynamics and kinetics of pyrometallurgical, hydrometallurgical, electrochemical, and other processes); theoretical metallurgy; metal forming; thermoplastic and thermochemical treatment; computation and experimental determination of phase diagrams and thermokinetic diagrams; mechanisms and kinetics of phase transitions in metallic materials; relations between the chemical composition, phase and structural states of materials and their physicochemical and service properties; interaction between metallic materials and external media; and effects of radiation on these materials.
×
引用
GB/T 7714-2015
复制
MLA
复制
APA
复制
导出至
BibTeX EndNote RefMan NoteFirst NoteExpress
×
提示
您的信息不完整,为了账户安全,请先补充。
现在去补充
×
提示
您因"违规操作"
具体请查看互助需知
我知道了
×
提示
确定
请完成安全验证×
copy
已复制链接
快去分享给好友吧!
我知道了
右上角分享
点击右上角分享
0
联系我们:info@booksci.cn Book学术提供免费学术资源搜索服务,方便国内外学者检索中英文文献。致力于提供最便捷和优质的服务体验。 Copyright © 2023 布克学术 All rights reserved.
京ICP备2023020795号-1
ghs 京公网安备 11010802042870号
Book学术文献互助
Book学术文献互助群
群 号:604180095
Book学术官方微信