从生活史角度看,进食成瘾与个人相对剥夺、补偿性健康信念和体重指数的关系。

IF 4.5 3区 医学 Q2 NUTRITION & DIETETICS
Haofeng Ling, Bin-Bin Chen, Hengyue Zhang, Hong Mian Yang, Anise M S Wu
{"title":"从生活史角度看,进食成瘾与个人相对剥夺、补偿性健康信念和体重指数的关系。","authors":"Haofeng Ling, Bin-Bin Chen, Hengyue Zhang, Hong Mian Yang, Anise M S Wu","doi":"10.1186/s40337-025-01356-1","DOIUrl":null,"url":null,"abstract":"<p><strong>Background: </strong>The rising global overweight/obesity rate has led to an increase of research attention in one of its antecedents: addiction-like eating (AE). Under the framework of life history (LH) theory, the present study aimed at examining not only the association between AE and body mass index (BMI) but also the effects of LH strategy on AE, via two cognitive mediators (i.e., compensatory health beliefs [CHB] and personal relative deprivation [PRD]).</p><p><strong>Method: </strong>A convenience sample of 660 Chinese adults (45.9% males, M<sub>age</sub>=33.33, SD = 7.62, Range = 19-69 years) was recruited to participate in an anonymous online survey.</p><p><strong>Results: </strong>Bivariate correlations revealed significant positive association between AE and BMI (r = 0.12, p < 0.001) and negative association between slow LH strategy and AE (r = - 0.38, p < 0.001). Path analyses revealed both significant direct (β=-0.15, 95%CI [- 0.23, - 0.06]) and indirect effects (via CHB and PRD) of LH strategy on AE (β=-0.06, 95%CI [- 0.10, - 0.03] and β=-0.16, 95%CI [- 0.20, - 0.11]). Additional model testing provided preliminary evidence that AE fully mediated the association between LH strategy and BMI (β=-0.03, 95%CI [- 0.06, - 0.01]). The indirect effect of LH strategy on BMI, via CHB/PRD and AE, serially, was also significant (β=-0.02, 95%CI [- 0.03, - 0.01] and β=-0.04, 95%CI [- 0.06, - 0.02]).</p><p><strong>Discussion: </strong>Our study provided additional empirical support regarding the capacity of LH theory to shed light on the mechanisms underlying behavioral addiction. This study was the first of its kind to examine how LH strategy may stimulate resource-related cognitive beliefs, which contribute to addictive behaviors and associated outcomes. Findings have useful implications regarding future research directions and interventions targeting AE and weight control.</p>","PeriodicalId":48605,"journal":{"name":"Journal of Eating Disorders","volume":"13 1","pages":"180"},"PeriodicalIF":4.5000,"publicationDate":"2025-08-19","publicationTypes":"Journal Article","fieldsOfStudy":null,"isOpenAccess":false,"openAccessPdf":"https://www.ncbi.nlm.nih.gov/pmc/articles/PMC12366124/pdf/","citationCount":"0","resultStr":"{\"title\":\"Associations of addiction-like eating with personal relative deprivation, compensatory health beliefs, and body mass index from the life history perspective.\",\"authors\":\"Haofeng Ling, Bin-Bin Chen, Hengyue Zhang, Hong Mian Yang, Anise M S Wu\",\"doi\":\"10.1186/s40337-025-01356-1\",\"DOIUrl\":null,\"url\":null,\"abstract\":\"<p><strong>Background: </strong>The rising global overweight/obesity rate has led to an increase of research attention in one of its antecedents: addiction-like eating (AE). Under the framework of life history (LH) theory, the present study aimed at examining not only the association between AE and body mass index (BMI) but also the effects of LH strategy on AE, via two cognitive mediators (i.e., compensatory health beliefs [CHB] and personal relative deprivation [PRD]).</p><p><strong>Method: </strong>A convenience sample of 660 Chinese adults (45.9% males, M<sub>age</sub>=33.33, SD = 7.62, Range = 19-69 years) was recruited to participate in an anonymous online survey.</p><p><strong>Results: </strong>Bivariate correlations revealed significant positive association between AE and BMI (r = 0.12, p < 0.001) and negative association between slow LH strategy and AE (r = - 0.38, p < 0.001). Path analyses revealed both significant direct (β=-0.15, 95%CI [- 0.23, - 0.06]) and indirect effects (via CHB and PRD) of LH strategy on AE (β=-0.06, 95%CI [- 0.10, - 0.03] and β=-0.16, 95%CI [- 0.20, - 0.11]). Additional model testing provided preliminary evidence that AE fully mediated the association between LH strategy and BMI (β=-0.03, 95%CI [- 0.06, - 0.01]). The indirect effect of LH strategy on BMI, via CHB/PRD and AE, serially, was also significant (β=-0.02, 95%CI [- 0.03, - 0.01] and β=-0.04, 95%CI [- 0.06, - 0.02]).</p><p><strong>Discussion: </strong>Our study provided additional empirical support regarding the capacity of LH theory to shed light on the mechanisms underlying behavioral addiction. This study was the first of its kind to examine how LH strategy may stimulate resource-related cognitive beliefs, which contribute to addictive behaviors and associated outcomes. Findings have useful implications regarding future research directions and interventions targeting AE and weight control.</p>\",\"PeriodicalId\":48605,\"journal\":{\"name\":\"Journal of Eating Disorders\",\"volume\":\"13 1\",\"pages\":\"180\"},\"PeriodicalIF\":4.5000,\"publicationDate\":\"2025-08-19\",\"publicationTypes\":\"Journal Article\",\"fieldsOfStudy\":null,\"isOpenAccess\":false,\"openAccessPdf\":\"https://www.ncbi.nlm.nih.gov/pmc/articles/PMC12366124/pdf/\",\"citationCount\":\"0\",\"resultStr\":null,\"platform\":\"Semanticscholar\",\"paperid\":null,\"PeriodicalName\":\"Journal of Eating Disorders\",\"FirstCategoryId\":\"3\",\"ListUrlMain\":\"https://doi.org/10.1186/s40337-025-01356-1\",\"RegionNum\":3,\"RegionCategory\":\"医学\",\"ArticlePicture\":[],\"TitleCN\":null,\"AbstractTextCN\":null,\"PMCID\":null,\"EPubDate\":\"\",\"PubModel\":\"\",\"JCR\":\"Q2\",\"JCRName\":\"NUTRITION & DIETETICS\",\"Score\":null,\"Total\":0}","platform":"Semanticscholar","paperid":null,"PeriodicalName":"Journal of Eating Disorders","FirstCategoryId":"3","ListUrlMain":"https://doi.org/10.1186/s40337-025-01356-1","RegionNum":3,"RegionCategory":"医学","ArticlePicture":[],"TitleCN":null,"AbstractTextCN":null,"PMCID":null,"EPubDate":"","PubModel":"","JCR":"Q2","JCRName":"NUTRITION & DIETETICS","Score":null,"Total":0}
引用次数: 0

摘要

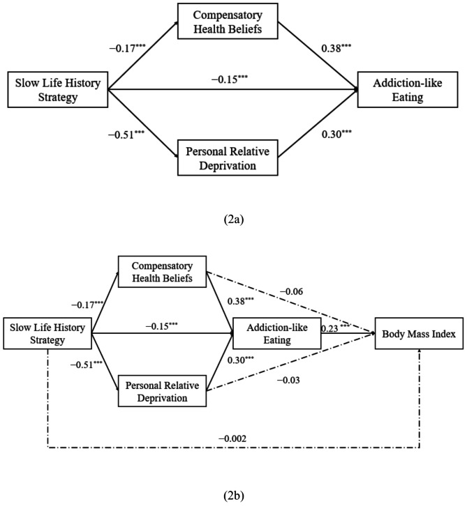
背景:全球超重/肥胖率的上升引起了对其前兆之一的研究关注:类成瘾饮食(AE)。本研究在生活史理论框架下,通过代偿性健康信念(CHB)和个人相对剥夺(PRD)两种认知介质,探讨了AE与体重指数(BMI)的关系,以及LH策略对AE的影响。方法:方便抽样660名中国成年人(男性45.9%,Mage=33.33, SD = 7.62,年龄范围= 19-69岁)参加匿名在线调查。结果:双变量相关性显示AE与BMI之间存在显著正相关(r = 0.12, p)。讨论:我们的研究为LH理论阐明行为成瘾机制的能力提供了额外的实证支持。这项研究首次探讨了LH策略如何刺激与资源相关的认知信念,从而导致成瘾行为和相关结果。研究结果对未来的研究方向和针对声发射和体重控制的干预措施具有重要意义。
本文章由计算机程序翻译,如有差异,请以英文原文为准。

Associations of addiction-like eating with personal relative deprivation, compensatory health beliefs, and body mass index from the life history perspective.

Associations of addiction-like eating with personal relative deprivation, compensatory health beliefs, and body mass index from the life history perspective.

Associations of addiction-like eating with personal relative deprivation, compensatory health beliefs, and body mass index from the life history perspective.

Background: The rising global overweight/obesity rate has led to an increase of research attention in one of its antecedents: addiction-like eating (AE). Under the framework of life history (LH) theory, the present study aimed at examining not only the association between AE and body mass index (BMI) but also the effects of LH strategy on AE, via two cognitive mediators (i.e., compensatory health beliefs [CHB] and personal relative deprivation [PRD]).

Method: A convenience sample of 660 Chinese adults (45.9% males, Mage=33.33, SD = 7.62, Range = 19-69 years) was recruited to participate in an anonymous online survey.

Results: Bivariate correlations revealed significant positive association between AE and BMI (r = 0.12, p < 0.001) and negative association between slow LH strategy and AE (r = - 0.38, p < 0.001). Path analyses revealed both significant direct (β=-0.15, 95%CI [- 0.23, - 0.06]) and indirect effects (via CHB and PRD) of LH strategy on AE (β=-0.06, 95%CI [- 0.10, - 0.03] and β=-0.16, 95%CI [- 0.20, - 0.11]). Additional model testing provided preliminary evidence that AE fully mediated the association between LH strategy and BMI (β=-0.03, 95%CI [- 0.06, - 0.01]). The indirect effect of LH strategy on BMI, via CHB/PRD and AE, serially, was also significant (β=-0.02, 95%CI [- 0.03, - 0.01] and β=-0.04, 95%CI [- 0.06, - 0.02]).

Discussion: Our study provided additional empirical support regarding the capacity of LH theory to shed light on the mechanisms underlying behavioral addiction. This study was the first of its kind to examine how LH strategy may stimulate resource-related cognitive beliefs, which contribute to addictive behaviors and associated outcomes. Findings have useful implications regarding future research directions and interventions targeting AE and weight control.

求助全文
通过发布文献求助,成功后即可免费获取论文全文。 去求助
来源期刊
Journal of Eating Disorders
Journal of Eating Disorders Neuroscience-Behavioral Neuroscience
CiteScore
5.30
自引率
17.10%
发文量
161
审稿时长
16 weeks
期刊介绍: Journal of Eating Disorders is the first open access, peer-reviewed journal publishing leading research in the science and clinical practice of eating disorders. It disseminates research that provides answers to the important issues and key challenges in the field of eating disorders and to facilitate translation of evidence into practice. The journal publishes research on all aspects of eating disorders namely their epidemiology, nature, determinants, neurobiology, prevention, treatment and outcomes. The scope includes, but is not limited to anorexia nervosa, bulimia nervosa, binge eating disorder and other eating disorders. Related areas such as important co-morbidities, obesity, body image, appetite, food and eating are also included. Articles about research methodology and assessment are welcomed where they advance the field of eating disorders.
×
引用
GB/T 7714-2015
复制
MLA
复制
APA
复制
导出至
BibTeX EndNote RefMan NoteFirst NoteExpress
×
提示
您的信息不完整,为了账户安全,请先补充。
现在去补充
×
提示
您因"违规操作"
具体请查看互助需知
我知道了
×
提示
确定
请完成安全验证×
copy
已复制链接
快去分享给好友吧!
我知道了
右上角分享
点击右上角分享
0
联系我们:info@booksci.cn Book学术提供免费学术资源搜索服务,方便国内外学者检索中英文文献。致力于提供最便捷和优质的服务体验。 Copyright © 2023 布克学术 All rights reserved.
京ICP备2023020795号-1
ghs 京公网安备 11010802042870号
Book学术文献互助
Book学术文献互助群
群 号:604180095
Book学术官方微信