家庭关系质量与目标达成:心理困扰的中介作用分析。

IF 1.8 4区 医学 Q3 PSYCHIATRY
Psychiatry Investigation Pub Date : 2025-07-01 Epub Date: 2025-07-16 DOI:10.30773/pi.2024.0273
Arsalan Haider, Kadir Uludag, Huixia Zhou, Li Hong, Zhang Wei
{"title":"家庭关系质量与目标达成:心理困扰的中介作用分析。","authors":"Arsalan Haider, Kadir Uludag, Huixia Zhou, Li Hong, Zhang Wei","doi":"10.30773/pi.2024.0273","DOIUrl":null,"url":null,"abstract":"<p><strong>Objective: </strong>Late adolescence and young adulthood are crucial periods when individuals rely on family support to navigate challenges like identity formation and career decisions. Supportive families aid in coping during this transition. This study examines the links between family quality of life (FQoL), goal attainment, and psychological distress in the Pakistani cultural context.</p><p><strong>Methods: </strong>Of the 300 students in this cross-sectional study, 52.0% were men, and 48.0% were women. The study employed the Beach Centre Family Quality of Life Scale to assess students' well-being within a familial context, the Depression, Anxiety, and Stress Scale-21 to measure psychological distress, and the Goal Achievement Questionnaire (goal achievement mastery [GA-M] and goal achievement performance [GA-P]) to evaluate goal orientation.</p><p><strong>Results: </strong>GA-M was negatively associated with depression, stress, family interaction, and parenting but positively linked to anxiety. Conversely, GA-P was positively associated with psychological distress. Women students scored higher on GA-P (t(298)=-3.41, p<0.001). In contrast, men scored higher on Physical/Material Well-being (t(298)=2.35, p<0.01). Additionally, FQoL positively predicted GA-P via depression and stress but negatively predicted GA-M via depression and stress.</p><p><strong>Conclusion: </strong>FQoL is closely linked to students' GA-M and GA-P, with depression and stress as indirect mediators. These findings underscore the critical role of familial support in shaping goal achievement.</p>","PeriodicalId":21164,"journal":{"name":"Psychiatry Investigation","volume":"22 7","pages":"775-785"},"PeriodicalIF":1.8000,"publicationDate":"2025-07-01","publicationTypes":"Journal Article","fieldsOfStudy":null,"isOpenAccess":false,"openAccessPdf":"https://www.ncbi.nlm.nih.gov/pmc/articles/PMC12301684/pdf/","citationCount":"0","resultStr":"{\"title\":\"Investigating the Quality of Family Relationships and Goal Attainment: Analyzing the Mediating Role of Psychological Distress.\",\"authors\":\"Arsalan Haider, Kadir Uludag, Huixia Zhou, Li Hong, Zhang Wei\",\"doi\":\"10.30773/pi.2024.0273\",\"DOIUrl\":null,\"url\":null,\"abstract\":\"<p><strong>Objective: </strong>Late adolescence and young adulthood are crucial periods when individuals rely on family support to navigate challenges like identity formation and career decisions. Supportive families aid in coping during this transition. This study examines the links between family quality of life (FQoL), goal attainment, and psychological distress in the Pakistani cultural context.</p><p><strong>Methods: </strong>Of the 300 students in this cross-sectional study, 52.0% were men, and 48.0% were women. The study employed the Beach Centre Family Quality of Life Scale to assess students' well-being within a familial context, the Depression, Anxiety, and Stress Scale-21 to measure psychological distress, and the Goal Achievement Questionnaire (goal achievement mastery [GA-M] and goal achievement performance [GA-P]) to evaluate goal orientation.</p><p><strong>Results: </strong>GA-M was negatively associated with depression, stress, family interaction, and parenting but positively linked to anxiety. Conversely, GA-P was positively associated with psychological distress. Women students scored higher on GA-P (t(298)=-3.41, p<0.001). In contrast, men scored higher on Physical/Material Well-being (t(298)=2.35, p<0.01). Additionally, FQoL positively predicted GA-P via depression and stress but negatively predicted GA-M via depression and stress.</p><p><strong>Conclusion: </strong>FQoL is closely linked to students' GA-M and GA-P, with depression and stress as indirect mediators. These findings underscore the critical role of familial support in shaping goal achievement.</p>\",\"PeriodicalId\":21164,\"journal\":{\"name\":\"Psychiatry Investigation\",\"volume\":\"22 7\",\"pages\":\"775-785\"},\"PeriodicalIF\":1.8000,\"publicationDate\":\"2025-07-01\",\"publicationTypes\":\"Journal Article\",\"fieldsOfStudy\":null,\"isOpenAccess\":false,\"openAccessPdf\":\"https://www.ncbi.nlm.nih.gov/pmc/articles/PMC12301684/pdf/\",\"citationCount\":\"0\",\"resultStr\":null,\"platform\":\"Semanticscholar\",\"paperid\":null,\"PeriodicalName\":\"Psychiatry Investigation\",\"FirstCategoryId\":\"3\",\"ListUrlMain\":\"https://doi.org/10.30773/pi.2024.0273\",\"RegionNum\":4,\"RegionCategory\":\"医学\",\"ArticlePicture\":[],\"TitleCN\":null,\"AbstractTextCN\":null,\"PMCID\":null,\"EPubDate\":\"2025/7/16 0:00:00\",\"PubModel\":\"Epub\",\"JCR\":\"Q3\",\"JCRName\":\"PSYCHIATRY\",\"Score\":null,\"Total\":0}","platform":"Semanticscholar","paperid":null,"PeriodicalName":"Psychiatry Investigation","FirstCategoryId":"3","ListUrlMain":"https://doi.org/10.30773/pi.2024.0273","RegionNum":4,"RegionCategory":"医学","ArticlePicture":[],"TitleCN":null,"AbstractTextCN":null,"PMCID":null,"EPubDate":"2025/7/16 0:00:00","PubModel":"Epub","JCR":"Q3","JCRName":"PSYCHIATRY","Score":null,"Total":0}
引用次数: 0

摘要

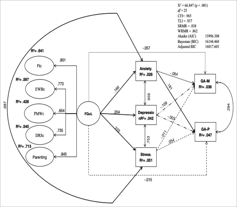
目的:青春期晚期和成年早期是个体依靠家庭支持来应对身份形成和职业决定等挑战的关键时期。支持你的家庭帮助你应对这个转变。本研究探讨了巴基斯坦文化背景下家庭生活质量(FQoL)、目标实现和心理困扰之间的联系。方法:300名大学生中,男性占52.0%,女性占48.0%。本研究采用Beach Centre家庭生活质量量表评估学生在家庭背景下的幸福感,采用抑郁、焦虑和压力量表-21测量学生的心理困扰,采用目标成就问卷(目标成就掌握[GA-M]和目标成就表现[GA-P])评估目标取向。结果:GA-M与抑郁、压力、家庭互动和养育子女负相关,但与焦虑正相关。相反,GA-P与心理困扰呈正相关。女学生GA-P得分较高(t(298)=-3.41, p)。结论:FQoL与学生GA-M和GA-P密切相关,抑郁和压力是间接中介。这些发现强调了家庭支持在塑造目标成就方面的关键作用。
本文章由计算机程序翻译,如有差异,请以英文原文为准。

Investigating the Quality of Family Relationships and Goal Attainment: Analyzing the Mediating Role of Psychological Distress.

Investigating the Quality of Family Relationships and Goal Attainment: Analyzing the Mediating Role of Psychological Distress.

Investigating the Quality of Family Relationships and Goal Attainment: Analyzing the Mediating Role of Psychological Distress.

Investigating the Quality of Family Relationships and Goal Attainment: Analyzing the Mediating Role of Psychological Distress.

Objective: Late adolescence and young adulthood are crucial periods when individuals rely on family support to navigate challenges like identity formation and career decisions. Supportive families aid in coping during this transition. This study examines the links between family quality of life (FQoL), goal attainment, and psychological distress in the Pakistani cultural context.

Methods: Of the 300 students in this cross-sectional study, 52.0% were men, and 48.0% were women. The study employed the Beach Centre Family Quality of Life Scale to assess students' well-being within a familial context, the Depression, Anxiety, and Stress Scale-21 to measure psychological distress, and the Goal Achievement Questionnaire (goal achievement mastery [GA-M] and goal achievement performance [GA-P]) to evaluate goal orientation.

Results: GA-M was negatively associated with depression, stress, family interaction, and parenting but positively linked to anxiety. Conversely, GA-P was positively associated with psychological distress. Women students scored higher on GA-P (t(298)=-3.41, p<0.001). In contrast, men scored higher on Physical/Material Well-being (t(298)=2.35, p<0.01). Additionally, FQoL positively predicted GA-P via depression and stress but negatively predicted GA-M via depression and stress.

Conclusion: FQoL is closely linked to students' GA-M and GA-P, with depression and stress as indirect mediators. These findings underscore the critical role of familial support in shaping goal achievement.

求助全文
通过发布文献求助,成功后即可免费获取论文全文。 去求助
来源期刊
CiteScore
4.10
自引率
3.70%
发文量
105
审稿时长
6-12 weeks
期刊介绍: The Psychiatry Investigation is published on the 25th day of every month in English by the Korean Neuropsychiatric Association (KNPA). The Journal covers the whole range of psychiatry and neuroscience. Both basic and clinical contributions are encouraged from all disciplines and research areas relevant to the pathophysiology and management of neuropsychiatric disorders and symptoms, as well as researches related to cross cultural psychiatry and ethnic issues in psychiatry. The Journal publishes editorials, review articles, original articles, brief reports, viewpoints and correspondences. All research articles are peer reviewed. Contributions are accepted for publication on the condition that their substance has not been published or submitted for publication elsewhere. Authors submitting papers to the Journal (serially or otherwise) with a common theme or using data derived from the same sample (or a subset thereof) must send details of all relevant previous publications and simultaneous submissions. The Journal is not responsible for statements made by contributors. Material in the Journal does not necessarily reflect the views of the Editor or of the KNPA. Manuscripts accepted for publication are copy-edited to improve readability and to ensure conformity with house style.
×
引用
GB/T 7714-2015
复制
MLA
复制
APA
复制
导出至
BibTeX EndNote RefMan NoteFirst NoteExpress
×
提示
您的信息不完整,为了账户安全,请先补充。
现在去补充
×
提示
您因"违规操作"
具体请查看互助需知
我知道了
×
提示
确定
请完成安全验证×
copy
已复制链接
快去分享给好友吧!
我知道了
右上角分享
点击右上角分享
0
联系我们:info@booksci.cn Book学术提供免费学术资源搜索服务,方便国内外学者检索中英文文献。致力于提供最便捷和优质的服务体验。 Copyright © 2023 布克学术 All rights reserved.
京ICP备2023020795号-1
ghs 京公网安备 11010802042870号
Book学术文献互助
Book学术文献互助群
群 号:604180095
Book学术官方微信