工作时间通过睡眠和压力间接影响牙医、医生和心理治疗师的焦虑症状。

IF 1.6 4区 医学 Q3 PUBLIC, ENVIRONMENTAL & OCCUPATIONAL HEALTH
Patricia Tomac, Iva Japundžić Rapić, Liborija Lugović-Mihić, Jelena Macan, Adrijana Košćec Bjelajac
{"title":"工作时间通过睡眠和压力间接影响牙医、医生和心理治疗师的焦虑症状。","authors":"Patricia Tomac, Iva Japundžić Rapić, Liborija Lugović-Mihić, Jelena Macan, Adrijana Košćec Bjelajac","doi":"10.2478/aiht-2025-76-3954","DOIUrl":null,"url":null,"abstract":"<p><p>The aim of this study was to examine the effects of working hours on anxiety symptoms in highly educated helping professionals, especially through sleep duration, perceived stress and sleep quality. We analysed the results of 172 helping professionals (dentists, physicians, and psychotherapists, 57 % women, average age 25-63 years) who had participated in a larger study examining the effects of working conditions and constitutional factors on the onset of hand eczema. The participants answered a battery of questionnaires, including Cohen's Perceived Stress Scale, Zung Self-Rating Anxiety Scale, and a set of standard questions on sociodemographic characteristics, working hours, sleep, and job characteristics. They also underwent clinical examination of skin on hands and wrists. Participants reported working between 19 and 90 h a week, with 25.1 % working more than 50 h a week. Several path analysis models used in the study showed that working hours predicted anxiety only indirectly. The final model \"working hours → sleep duration on workdays → perceived stress → anxiety symptoms\" showed excellent fit [χ<sup>2</sup>(14)=10.345; P>0.05; CFI=1.000; RMSEA 90 % CI (0.000, 0.054); P>0.05; SRMR=0.028]. Our results indicate that long working hours are associated with shorter sleep duration, which, in turn, is associated with higher levels of perceived stress and subsequently higher levels of anxiety. Long working hours in highly educated helping professionals may therefore put at risk their own health and safety and that of the recipients of their services.</p>","PeriodicalId":55462,"journal":{"name":"Arhiv Za Higijenu Rada I Toksikologiju-Archives of Industrial Hygiene and Toxicology","volume":"76 2","pages":"102-112"},"PeriodicalIF":1.6000,"publicationDate":"2025-06-30","publicationTypes":"Journal Article","fieldsOfStudy":null,"isOpenAccess":false,"openAccessPdf":"https://www.ncbi.nlm.nih.gov/pmc/articles/PMC12193985/pdf/","citationCount":"0","resultStr":"{\"title\":\"Working hours indirectly affect anxiety symptoms through sleep and stress in dentists, physicians, and psychotherapists.\",\"authors\":\"Patricia Tomac, Iva Japundžić Rapić, Liborija Lugović-Mihić, Jelena Macan, Adrijana Košćec Bjelajac\",\"doi\":\"10.2478/aiht-2025-76-3954\",\"DOIUrl\":null,\"url\":null,\"abstract\":\"<p><p>The aim of this study was to examine the effects of working hours on anxiety symptoms in highly educated helping professionals, especially through sleep duration, perceived stress and sleep quality. We analysed the results of 172 helping professionals (dentists, physicians, and psychotherapists, 57 % women, average age 25-63 years) who had participated in a larger study examining the effects of working conditions and constitutional factors on the onset of hand eczema. The participants answered a battery of questionnaires, including Cohen's Perceived Stress Scale, Zung Self-Rating Anxiety Scale, and a set of standard questions on sociodemographic characteristics, working hours, sleep, and job characteristics. They also underwent clinical examination of skin on hands and wrists. Participants reported working between 19 and 90 h a week, with 25.1 % working more than 50 h a week. Several path analysis models used in the study showed that working hours predicted anxiety only indirectly. The final model \\\"working hours → sleep duration on workdays → perceived stress → anxiety symptoms\\\" showed excellent fit [χ<sup>2</sup>(14)=10.345; P>0.05; CFI=1.000; RMSEA 90 % CI (0.000, 0.054); P>0.05; SRMR=0.028]. Our results indicate that long working hours are associated with shorter sleep duration, which, in turn, is associated with higher levels of perceived stress and subsequently higher levels of anxiety. Long working hours in highly educated helping professionals may therefore put at risk their own health and safety and that of the recipients of their services.</p>\",\"PeriodicalId\":55462,\"journal\":{\"name\":\"Arhiv Za Higijenu Rada I Toksikologiju-Archives of Industrial Hygiene and Toxicology\",\"volume\":\"76 2\",\"pages\":\"102-112\"},\"PeriodicalIF\":1.6000,\"publicationDate\":\"2025-06-30\",\"publicationTypes\":\"Journal Article\",\"fieldsOfStudy\":null,\"isOpenAccess\":false,\"openAccessPdf\":\"https://www.ncbi.nlm.nih.gov/pmc/articles/PMC12193985/pdf/\",\"citationCount\":\"0\",\"resultStr\":null,\"platform\":\"Semanticscholar\",\"paperid\":null,\"PeriodicalName\":\"Arhiv Za Higijenu Rada I Toksikologiju-Archives of Industrial Hygiene and Toxicology\",\"FirstCategoryId\":\"3\",\"ListUrlMain\":\"https://doi.org/10.2478/aiht-2025-76-3954\",\"RegionNum\":4,\"RegionCategory\":\"医学\",\"ArticlePicture\":[],\"TitleCN\":null,\"AbstractTextCN\":null,\"PMCID\":null,\"EPubDate\":\"2025/6/1 0:00:00\",\"PubModel\":\"eCollection\",\"JCR\":\"Q3\",\"JCRName\":\"PUBLIC, ENVIRONMENTAL & OCCUPATIONAL HEALTH\",\"Score\":null,\"Total\":0}","platform":"Semanticscholar","paperid":null,"PeriodicalName":"Arhiv Za Higijenu Rada I Toksikologiju-Archives of Industrial Hygiene and Toxicology","FirstCategoryId":"3","ListUrlMain":"https://doi.org/10.2478/aiht-2025-76-3954","RegionNum":4,"RegionCategory":"医学","ArticlePicture":[],"TitleCN":null,"AbstractTextCN":null,"PMCID":null,"EPubDate":"2025/6/1 0:00:00","PubModel":"eCollection","JCR":"Q3","JCRName":"PUBLIC, ENVIRONMENTAL & OCCUPATIONAL HEALTH","Score":null,"Total":0}
引用次数: 0

摘要

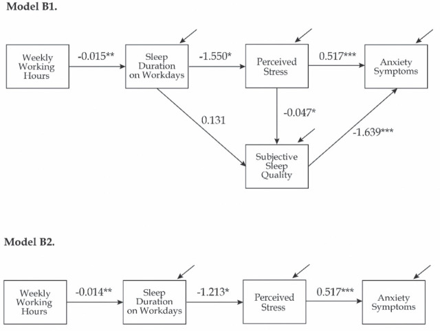
这项研究的目的是研究工作时间对受过高等教育的帮助专业人员焦虑症状的影响,特别是通过睡眠时间、感知压力和睡眠质量。我们分析了172名帮助专业人员(牙医、医生和心理治疗师,57%为女性,平均年龄25-63岁)的结果,这些人参加了一项大型研究,研究了工作条件和体质因素对手部湿疹发病的影响。参与者回答了一系列的问卷,包括科恩的感知压力量表,Zung自评焦虑量表,以及一系列关于社会人口特征、工作时间、睡眠和工作特征的标准问题。他们还接受了手部和手腕皮肤的临床检查。参与者报告每周工作19到90小时,25.1%的人每周工作超过50小时。研究中使用的几个路径分析模型表明,工作时间只能间接预测焦虑。最终模型“工作时间→工作日睡眠时间→感知压力→焦虑症状”拟合良好[χ2(14)=10.345;P > 0.05;CFI = 1.000;Rmsea 90% ci (0.000, 0.054);P > 0.05;SRMR = 0.028)。我们的研究结果表明,工作时间长与睡眠时间短有关,而睡眠时间短又与更高水平的感知压力和随后更高水平的焦虑有关。因此,受过高等教育的援助专业人员工作时间长,可能会危及其本人及其服务对象的健康和安全。
本文章由计算机程序翻译,如有差异,请以英文原文为准。

Working hours indirectly affect anxiety symptoms through sleep and stress in dentists, physicians, and psychotherapists.

Working hours indirectly affect anxiety symptoms through sleep and stress in dentists, physicians, and psychotherapists.

Working hours indirectly affect anxiety symptoms through sleep and stress in dentists, physicians, and psychotherapists.

Working hours indirectly affect anxiety symptoms through sleep and stress in dentists, physicians, and psychotherapists.

The aim of this study was to examine the effects of working hours on anxiety symptoms in highly educated helping professionals, especially through sleep duration, perceived stress and sleep quality. We analysed the results of 172 helping professionals (dentists, physicians, and psychotherapists, 57 % women, average age 25-63 years) who had participated in a larger study examining the effects of working conditions and constitutional factors on the onset of hand eczema. The participants answered a battery of questionnaires, including Cohen's Perceived Stress Scale, Zung Self-Rating Anxiety Scale, and a set of standard questions on sociodemographic characteristics, working hours, sleep, and job characteristics. They also underwent clinical examination of skin on hands and wrists. Participants reported working between 19 and 90 h a week, with 25.1 % working more than 50 h a week. Several path analysis models used in the study showed that working hours predicted anxiety only indirectly. The final model "working hours → sleep duration on workdays → perceived stress → anxiety symptoms" showed excellent fit [χ2(14)=10.345; P>0.05; CFI=1.000; RMSEA 90 % CI (0.000, 0.054); P>0.05; SRMR=0.028]. Our results indicate that long working hours are associated with shorter sleep duration, which, in turn, is associated with higher levels of perceived stress and subsequently higher levels of anxiety. Long working hours in highly educated helping professionals may therefore put at risk their own health and safety and that of the recipients of their services.

求助全文
通过发布文献求助,成功后即可免费获取论文全文。 去求助
来源期刊
Arhiv Za Higijenu Rada I Toksikologiju-Archives of Industrial Hygiene and Toxicology
Arhiv Za Higijenu Rada I Toksikologiju-Archives of Industrial Hygiene and Toxicology PUBLIC, ENVIRONMENTAL & OCCUPATIONAL HEALTH-TOXICOLOGY
CiteScore
3.50
自引率
4.80%
发文量
26
审稿时长
6-12 weeks
期刊介绍: Archives of Industrial Hygiene and Toxicology (abbr. Arh Hig Rada Toksikol) is a peer-reviewed biomedical scientific quarterly that publishes contributions relevant to all aspects of environmental and occupational health and toxicology.
×
引用
GB/T 7714-2015
复制
MLA
复制
APA
复制
导出至
BibTeX EndNote RefMan NoteFirst NoteExpress
×
提示
您的信息不完整,为了账户安全,请先补充。
现在去补充
×
提示
您因"违规操作"
具体请查看互助需知
我知道了
×
提示
确定
请完成安全验证×
copy
已复制链接
快去分享给好友吧!
我知道了
右上角分享
点击右上角分享
0
联系我们:info@booksci.cn Book学术提供免费学术资源搜索服务,方便国内外学者检索中英文文献。致力于提供最便捷和优质的服务体验。 Copyright © 2023 布克学术 All rights reserved.
京ICP备2023020795号-1
ghs 京公网安备 11010802042870号
Book学术文献互助
Book学术文献互助群
群 号:604180095
Book学术官方微信