浸没穿孔板附近两相流的研究

IF 1 Q4 ENERGY & FUELS
A. S. Nikulin, S. A. Tokarev, V. I. Melikhov, O. I. Melikhov
{"title":"浸没穿孔板附近两相流的研究","authors":"A. S. Nikulin,&nbsp;S. A. Tokarev,&nbsp;V. I. Melikhov,&nbsp;O. I. Melikhov","doi":"10.1134/S0040601525700107","DOIUrl":null,"url":null,"abstract":"<p>One of the main components of a nuclear power plant with a water-moderated water-cooled power reactor (VVER) is a horizontal steam generator (SG), whose main service is to generate the specified amount of saturated steam, which then enters the turbine. The steam wetness at the SG outlet should not exceed the maximum allowable value so that the elevated moisture content would not lead to erosive wear of the turbine blades. To maintain the required wetness, horizontal steam generators are equipped with a gravity separation system, whose essential component is a submerged perforated sheet (SPS) designed for equalizing the steam load on the evaporation surface. Elaboration of a mathematical model of the gravity separation requires theoretical and practical knowledge about the processes of water droplet formation on the evaporation surface under the dynamic impact of the steam flow. These processes depend crucially on the SPS design. This work included a study of the features of a two-phase flow near a perforated sheet, which was conducted at the Barboter experimental facility, and a numerical simulation of this process using the OpenFOAM code. The experimental facility was a water-filled vessel with transparent walls. Air was supplied into the vessel from the bottom, and an SPS with side flanges was installed in the middle of the vessel. An experiment was carried with a total air flowrate of 30 dm<sup>3</sup>/min giving a velocity of 0.94 m/s in the perforated sheet holes. Processing of photo and video records of the process yield dimensions of air bubbles moving out of the perforated sheet, the frequency of their formation, and sizes of water droplets and jets at the interface. The OpenFOAM code was used for the numerical study of air discharge through one hole of the perforated sheet with subsequent formation of water jets and droplets at the interface. The predictions demonstrate a good qualitative and quantitative agreement with the experimental values of the main parameters.</p>","PeriodicalId":799,"journal":{"name":"Thermal Engineering","volume":"72 5","pages":"394 - 404"},"PeriodicalIF":1.0000,"publicationDate":"2025-05-21","publicationTypes":"Journal Article","fieldsOfStudy":null,"isOpenAccess":false,"openAccessPdf":"","citationCount":"0","resultStr":"{\"title\":\"Investigation of a Two-Phase Flow Near a Submerged Perforated Sheet\",\"authors\":\"A. S. Nikulin,&nbsp;S. A. Tokarev,&nbsp;V. I. Melikhov,&nbsp;O. I. Melikhov\",\"doi\":\"10.1134/S0040601525700107\",\"DOIUrl\":null,\"url\":null,\"abstract\":\"<p>One of the main components of a nuclear power plant with a water-moderated water-cooled power reactor (VVER) is a horizontal steam generator (SG), whose main service is to generate the specified amount of saturated steam, which then enters the turbine. The steam wetness at the SG outlet should not exceed the maximum allowable value so that the elevated moisture content would not lead to erosive wear of the turbine blades. To maintain the required wetness, horizontal steam generators are equipped with a gravity separation system, whose essential component is a submerged perforated sheet (SPS) designed for equalizing the steam load on the evaporation surface. Elaboration of a mathematical model of the gravity separation requires theoretical and practical knowledge about the processes of water droplet formation on the evaporation surface under the dynamic impact of the steam flow. These processes depend crucially on the SPS design. This work included a study of the features of a two-phase flow near a perforated sheet, which was conducted at the Barboter experimental facility, and a numerical simulation of this process using the OpenFOAM code. The experimental facility was a water-filled vessel with transparent walls. Air was supplied into the vessel from the bottom, and an SPS with side flanges was installed in the middle of the vessel. An experiment was carried with a total air flowrate of 30 dm<sup>3</sup>/min giving a velocity of 0.94 m/s in the perforated sheet holes. Processing of photo and video records of the process yield dimensions of air bubbles moving out of the perforated sheet, the frequency of their formation, and sizes of water droplets and jets at the interface. The OpenFOAM code was used for the numerical study of air discharge through one hole of the perforated sheet with subsequent formation of water jets and droplets at the interface. The predictions demonstrate a good qualitative and quantitative agreement with the experimental values of the main parameters.</p>\",\"PeriodicalId\":799,\"journal\":{\"name\":\"Thermal Engineering\",\"volume\":\"72 5\",\"pages\":\"394 - 404\"},\"PeriodicalIF\":1.0000,\"publicationDate\":\"2025-05-21\",\"publicationTypes\":\"Journal Article\",\"fieldsOfStudy\":null,\"isOpenAccess\":false,\"openAccessPdf\":\"\",\"citationCount\":\"0\",\"resultStr\":null,\"platform\":\"Semanticscholar\",\"paperid\":null,\"PeriodicalName\":\"Thermal Engineering\",\"FirstCategoryId\":\"1085\",\"ListUrlMain\":\"https://link.springer.com/article/10.1134/S0040601525700107\",\"RegionNum\":0,\"RegionCategory\":null,\"ArticlePicture\":[],\"TitleCN\":null,\"AbstractTextCN\":null,\"PMCID\":null,\"EPubDate\":\"\",\"PubModel\":\"\",\"JCR\":\"Q4\",\"JCRName\":\"ENERGY & FUELS\",\"Score\":null,\"Total\":0}","platform":"Semanticscholar","paperid":null,"PeriodicalName":"Thermal Engineering","FirstCategoryId":"1085","ListUrlMain":"https://link.springer.com/article/10.1134/S0040601525700107","RegionNum":0,"RegionCategory":null,"ArticlePicture":[],"TitleCN":null,"AbstractTextCN":null,"PMCID":null,"EPubDate":"","PubModel":"","JCR":"Q4","JCRName":"ENERGY & FUELS","Score":null,"Total":0}
引用次数: 0

摘要

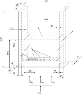
水慢化水冷动力堆(VVER)核电站的主要部件之一是卧式蒸汽发生器(SG),其主要作用是产生一定量的饱和蒸汽,然后进入汽轮机。SG出口的蒸汽湿度不应超过最大允许值,以免水分升高导致涡轮叶片的侵蚀磨损。为了保持所需的湿度,卧式蒸汽发生器配备了重力分离系统,其基本部件是用于平衡蒸发表面蒸汽负荷的浸没穿孔板(SPS)。要建立重力分离的数学模型,需要掌握在蒸汽流的动态冲击下,蒸发表面水滴形成过程的理论和实践知识。这些过程在很大程度上取决于SPS设计。这项工作包括在Barboter实验设施中对穿孔板附近的两相流特征进行研究,并使用OpenFOAM代码对这一过程进行数值模拟。实验设备是一个充满水的容器,它的壁是透明的。空气从底部进入容器,并在容器中部安装带有侧法兰的SPS。实验中,总风量为30 dm3/min,穿孔板孔内风速为0.94 m/s。对这一过程的照片和视频记录进行处理,得出气泡从穿孔板中流出的尺寸、形成的频率以及界面处水滴和射流的大小。采用OpenFOAM程序对空气通过多孔板的一个孔排出并在界面处形成水射流和水滴的过程进行了数值研究。预测结果与主要参数的实验值在定性和定量上都很吻合。
本文章由计算机程序翻译,如有差异,请以英文原文为准。

Investigation of a Two-Phase Flow Near a Submerged Perforated Sheet

Investigation of a Two-Phase Flow Near a Submerged Perforated Sheet

One of the main components of a nuclear power plant with a water-moderated water-cooled power reactor (VVER) is a horizontal steam generator (SG), whose main service is to generate the specified amount of saturated steam, which then enters the turbine. The steam wetness at the SG outlet should not exceed the maximum allowable value so that the elevated moisture content would not lead to erosive wear of the turbine blades. To maintain the required wetness, horizontal steam generators are equipped with a gravity separation system, whose essential component is a submerged perforated sheet (SPS) designed for equalizing the steam load on the evaporation surface. Elaboration of a mathematical model of the gravity separation requires theoretical and practical knowledge about the processes of water droplet formation on the evaporation surface under the dynamic impact of the steam flow. These processes depend crucially on the SPS design. This work included a study of the features of a two-phase flow near a perforated sheet, which was conducted at the Barboter experimental facility, and a numerical simulation of this process using the OpenFOAM code. The experimental facility was a water-filled vessel with transparent walls. Air was supplied into the vessel from the bottom, and an SPS with side flanges was installed in the middle of the vessel. An experiment was carried with a total air flowrate of 30 dm3/min giving a velocity of 0.94 m/s in the perforated sheet holes. Processing of photo and video records of the process yield dimensions of air bubbles moving out of the perforated sheet, the frequency of their formation, and sizes of water droplets and jets at the interface. The OpenFOAM code was used for the numerical study of air discharge through one hole of the perforated sheet with subsequent formation of water jets and droplets at the interface. The predictions demonstrate a good qualitative and quantitative agreement with the experimental values of the main parameters.

求助全文
通过发布文献求助,成功后即可免费获取论文全文。 去求助
来源期刊
CiteScore
1.30
自引率
20.00%
发文量
94
×
引用
GB/T 7714-2015
复制
MLA
复制
APA
复制
导出至
BibTeX EndNote RefMan NoteFirst NoteExpress
×
提示
您的信息不完整,为了账户安全,请先补充。
现在去补充
×
提示
您因"违规操作"
具体请查看互助需知
我知道了
×
提示
确定
请完成安全验证×
copy
已复制链接
快去分享给好友吧!
我知道了
右上角分享
点击右上角分享
0
联系我们:info@booksci.cn Book学术提供免费学术资源搜索服务,方便国内外学者检索中英文文献。致力于提供最便捷和优质的服务体验。 Copyright © 2023 布克学术 All rights reserved.
京ICP备2023020795号-1
ghs 京公网安备 11010802042870号
Book学术文献互助
Book学术文献互助群
群 号:604180095
Book学术官方微信