已故器官捐献者传染性疾病差异结果的评估:来自政策后测试回顾性分析的见解。

IF 2.6 4区 医学 Q3 IMMUNOLOGY
Transplant Infectious Disease Pub Date : 2025-07-01 Epub Date: 2025-05-19 DOI:10.1111/tid.70055
Sara Dionne, Hillary Akana, Chris Curran, Sean Van Slyck
{"title":"已故器官捐献者传染性疾病差异结果的评估:来自政策后测试回顾性分析的见解。","authors":"Sara Dionne, Hillary Akana, Chris Curran, Sean Van Slyck","doi":"10.1111/tid.70055","DOIUrl":null,"url":null,"abstract":"<p><strong>Background: </strong>In 2021, a new policy was implemented by the Organ Procurement Transplant Network requiring Organ Procurement Organizations to draw a repeat blood sample for deceased organ donors if donation had not proceeded within 96-h after the initial blood sample for screening was obtained. We performed an analysis of over 2600 deceased donor test results, comparing initial results to repeated blood draw results for human immunodeficiency virus, Hepatitis B virus, and Hepatitis C virus serology and nucleic acid test (NAT) tests. This study reviews result discrepancies and explores investigations behind peculiar results.</p><p><strong>Methods: </strong>Infectious disease results from deceased organ donors were analyzed retrospectively for this study. Donor specimens were collected throughout the United States and tested at eleven laboratories. Food & Drug Administration-approved donor screening tests were used to determine donor eligibility.</p><p><strong>Results: </strong>There was a 1.69% discrepancy rate comparing results from repeat blood draw specimens to original specimen results. Of these discrepancies, 0.75% of the donors had results (enzyme-linked immunoassay and/or NAT) that changed from non-reactive to reactive. 0.68% of donors had results that changed from reactive to non-reactive. 0.26% of results changed from Ultrio repeatedly reactive, non-discriminated to either non-reactive or reactive.</p><p><strong>Conclusion: </strong>This study represents that there is more than a 1% chance that discrepant results will be obtained. Despite the low incidence of discrepancies, these rare occurrences can complicate clinical decision-making, requiring case-by-case assessments. We present several cases in which variability in results can make clinical decisions complex with limited information and the inability to perform timely confirmatory testing using tests not required by Organ Procurement Transplant Network regulations.</p>","PeriodicalId":23318,"journal":{"name":"Transplant Infectious Disease","volume":" ","pages":"e70055"},"PeriodicalIF":2.6000,"publicationDate":"2025-07-01","publicationTypes":"Journal Article","fieldsOfStudy":null,"isOpenAccess":false,"openAccessPdf":"https://www.ncbi.nlm.nih.gov/pmc/articles/PMC12416474/pdf/","citationCount":"0","resultStr":"{\"title\":\"Evaluation of Discrepant Infectious Disease Results in Deceased Organ Donors: Insights From a Retrospective Analysis of Post-Policy Testing.\",\"authors\":\"Sara Dionne, Hillary Akana, Chris Curran, Sean Van Slyck\",\"doi\":\"10.1111/tid.70055\",\"DOIUrl\":null,\"url\":null,\"abstract\":\"<p><strong>Background: </strong>In 2021, a new policy was implemented by the Organ Procurement Transplant Network requiring Organ Procurement Organizations to draw a repeat blood sample for deceased organ donors if donation had not proceeded within 96-h after the initial blood sample for screening was obtained. We performed an analysis of over 2600 deceased donor test results, comparing initial results to repeated blood draw results for human immunodeficiency virus, Hepatitis B virus, and Hepatitis C virus serology and nucleic acid test (NAT) tests. This study reviews result discrepancies and explores investigations behind peculiar results.</p><p><strong>Methods: </strong>Infectious disease results from deceased organ donors were analyzed retrospectively for this study. Donor specimens were collected throughout the United States and tested at eleven laboratories. Food & Drug Administration-approved donor screening tests were used to determine donor eligibility.</p><p><strong>Results: </strong>There was a 1.69% discrepancy rate comparing results from repeat blood draw specimens to original specimen results. Of these discrepancies, 0.75% of the donors had results (enzyme-linked immunoassay and/or NAT) that changed from non-reactive to reactive. 0.68% of donors had results that changed from reactive to non-reactive. 0.26% of results changed from Ultrio repeatedly reactive, non-discriminated to either non-reactive or reactive.</p><p><strong>Conclusion: </strong>This study represents that there is more than a 1% chance that discrepant results will be obtained. Despite the low incidence of discrepancies, these rare occurrences can complicate clinical decision-making, requiring case-by-case assessments. We present several cases in which variability in results can make clinical decisions complex with limited information and the inability to perform timely confirmatory testing using tests not required by Organ Procurement Transplant Network regulations.</p>\",\"PeriodicalId\":23318,\"journal\":{\"name\":\"Transplant Infectious Disease\",\"volume\":\" \",\"pages\":\"e70055\"},\"PeriodicalIF\":2.6000,\"publicationDate\":\"2025-07-01\",\"publicationTypes\":\"Journal Article\",\"fieldsOfStudy\":null,\"isOpenAccess\":false,\"openAccessPdf\":\"https://www.ncbi.nlm.nih.gov/pmc/articles/PMC12416474/pdf/\",\"citationCount\":\"0\",\"resultStr\":null,\"platform\":\"Semanticscholar\",\"paperid\":null,\"PeriodicalName\":\"Transplant Infectious Disease\",\"FirstCategoryId\":\"3\",\"ListUrlMain\":\"https://doi.org/10.1111/tid.70055\",\"RegionNum\":4,\"RegionCategory\":\"医学\",\"ArticlePicture\":[],\"TitleCN\":null,\"AbstractTextCN\":null,\"PMCID\":null,\"EPubDate\":\"2025/5/19 0:00:00\",\"PubModel\":\"Epub\",\"JCR\":\"Q3\",\"JCRName\":\"IMMUNOLOGY\",\"Score\":null,\"Total\":0}","platform":"Semanticscholar","paperid":null,"PeriodicalName":"Transplant Infectious Disease","FirstCategoryId":"3","ListUrlMain":"https://doi.org/10.1111/tid.70055","RegionNum":4,"RegionCategory":"医学","ArticlePicture":[],"TitleCN":null,"AbstractTextCN":null,"PMCID":null,"EPubDate":"2025/5/19 0:00:00","PubModel":"Epub","JCR":"Q3","JCRName":"IMMUNOLOGY","Score":null,"Total":0}
引用次数: 0

摘要

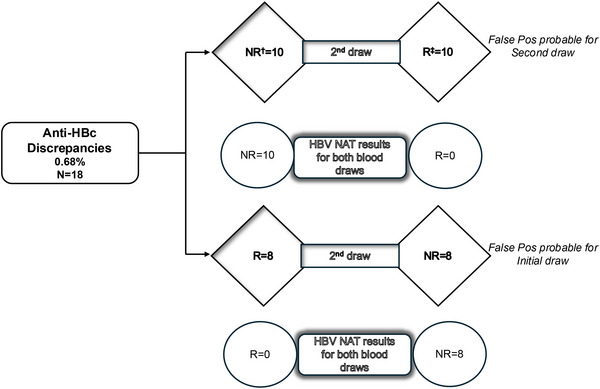
背景:2021年,器官采购移植网络实施了一项新政策,要求器官采购组织在获得用于筛查的初始血液样本后96小时内未进行捐献的已故器官献血者再次抽取血液样本。我们对2600多名已故献血者的检测结果进行了分析,将初步结果与人类免疫缺陷病毒、乙型肝炎病毒和丙型肝炎病毒血清学和核酸检测(NAT)的重复抽血结果进行了比较。本研究回顾了结果差异,并探讨了特殊结果背后的调查。方法:回顾性分析已故器官供者的感染性疾病结果。在美国各地收集供体标本,并在11个实验室进行测试。食品和药物管理局批准的供体筛选试验用于确定供体资格。结果:重复抽血标本结果与原始标本结果的差异率为1.69%。在这些差异中,0.75%的供者的结果(酶联免疫测定和/或NAT)从无反应变为反应。0.68%的供体检测结果由反应变为无反应。0.26%的结果由Ultrio反复反应、不区分变为非反应或反应。结论:本研究表明,有超过1%的机会将获得不同的结果。尽管差异的发生率很低,但这些罕见的情况会使临床决策复杂化,需要逐个评估。我们提出了几个病例,其中结果的可变性会使临床决策变得复杂,信息有限,无法使用器官获取移植网络法规不要求的测试进行及时的确认性测试。
本文章由计算机程序翻译,如有差异,请以英文原文为准。

Evaluation of Discrepant Infectious Disease Results in Deceased Organ Donors: Insights From a Retrospective Analysis of Post-Policy Testing.

Evaluation of Discrepant Infectious Disease Results in Deceased Organ Donors: Insights From a Retrospective Analysis of Post-Policy Testing.

Evaluation of Discrepant Infectious Disease Results in Deceased Organ Donors: Insights From a Retrospective Analysis of Post-Policy Testing.

Evaluation of Discrepant Infectious Disease Results in Deceased Organ Donors: Insights From a Retrospective Analysis of Post-Policy Testing.

Background: In 2021, a new policy was implemented by the Organ Procurement Transplant Network requiring Organ Procurement Organizations to draw a repeat blood sample for deceased organ donors if donation had not proceeded within 96-h after the initial blood sample for screening was obtained. We performed an analysis of over 2600 deceased donor test results, comparing initial results to repeated blood draw results for human immunodeficiency virus, Hepatitis B virus, and Hepatitis C virus serology and nucleic acid test (NAT) tests. This study reviews result discrepancies and explores investigations behind peculiar results.

Methods: Infectious disease results from deceased organ donors were analyzed retrospectively for this study. Donor specimens were collected throughout the United States and tested at eleven laboratories. Food & Drug Administration-approved donor screening tests were used to determine donor eligibility.

Results: There was a 1.69% discrepancy rate comparing results from repeat blood draw specimens to original specimen results. Of these discrepancies, 0.75% of the donors had results (enzyme-linked immunoassay and/or NAT) that changed from non-reactive to reactive. 0.68% of donors had results that changed from reactive to non-reactive. 0.26% of results changed from Ultrio repeatedly reactive, non-discriminated to either non-reactive or reactive.

Conclusion: This study represents that there is more than a 1% chance that discrepant results will be obtained. Despite the low incidence of discrepancies, these rare occurrences can complicate clinical decision-making, requiring case-by-case assessments. We present several cases in which variability in results can make clinical decisions complex with limited information and the inability to perform timely confirmatory testing using tests not required by Organ Procurement Transplant Network regulations.

求助全文
通过发布文献求助,成功后即可免费获取论文全文。 去求助
来源期刊
Transplant Infectious Disease
Transplant Infectious Disease 医学-传染病学
CiteScore
5.30
自引率
7.70%
发文量
210
审稿时长
4-8 weeks
期刊介绍: Transplant Infectious Disease has been established as a forum for presenting the most current information on the prevention and treatment of infection complicating organ and bone marrow transplantation. The point of view of the journal is that infection and allograft rejection (or graft-versus-host disease) are closely intertwined, and that advances in one area will have immediate consequences on the other. The interaction of the transplant recipient with potential microbial invaders, the impact of immunosuppressive strategies on this interaction, and the effects of cytokines, growth factors, and chemokines liberated during the course of infections, rejection, or graft-versus-host disease are central to the interests and mission of this journal. Transplant Infectious Disease is aimed at disseminating the latest information relevant to the infectious disease complications of transplantation to clinicians and scientists involved in bone marrow, kidney, liver, heart, lung, intestinal, and pancreatic transplantation. The infectious disease consequences and concerns regarding innovative transplant strategies, from novel immunosuppressive agents to xenotransplantation, are very much a concern of this journal. In addition, this journal feels a particular responsibility to inform primary care practitioners in the community, who increasingly are sharing the responsibility for the care of these patients, of the special considerations regarding the prevention and treatment of infection in transplant recipients. As exemplified by the international editorial board, articles are sought throughout the world that address both general issues and those of a more restricted geographic import.
×
引用
GB/T 7714-2015
复制
MLA
复制
APA
复制
导出至
BibTeX EndNote RefMan NoteFirst NoteExpress
×
提示
您的信息不完整,为了账户安全,请先补充。
现在去补充
×
提示
您因"违规操作"
具体请查看互助需知
我知道了
×
提示
确定
请完成安全验证×
copy
已复制链接
快去分享给好友吧!
我知道了
右上角分享
点击右上角分享
0
联系我们:info@booksci.cn Book学术提供免费学术资源搜索服务,方便国内外学者检索中英文文献。致力于提供最便捷和优质的服务体验。 Copyright © 2023 布克学术 All rights reserved.
京ICP备2023020795号-1
ghs 京公网安备 11010802042870号
Book学术文献互助
Book学术文献互助群
群 号:604180095
Book学术官方微信