基于日本健康检查数据的吸烟、睡眠质量和精神状态测试分数下降之间的关系:一项病例对照研究

IF 0.9 4区 医学 Q4 MEDICINE, RESEARCH & EXPERIMENTAL
Masahiro Nakatochi, Kei Yoshida, Masaya Fujitani, Yuki Ohashi, Fumie Kinoshita, Yumiko Kobayashi, Hiroyuki Sato, Yoshiko Takahashi, Koichi Murashita, Akihiro Hirakawa
{"title":"基于日本健康检查数据的吸烟、睡眠质量和精神状态测试分数下降之间的关系:一项病例对照研究","authors":"Masahiro Nakatochi, Kei Yoshida, Masaya Fujitani, Yuki Ohashi, Fumie Kinoshita, Yumiko Kobayashi, Hiroyuki Sato, Yoshiko Takahashi, Koichi Murashita, Akihiro Hirakawa","doi":"10.18999/nagjms.87.1.105","DOIUrl":null,"url":null,"abstract":"<p><p>The number of individuals with age-related mild cognitive impairment and subsequent dementia has inevitably increased with the rise in population aging. It is important to maintain cognitive function or decelerate declines in cognitive function. However, the evidence on lifestyle-based factors associated with this decline is lacking. Here, we investigated modifiable lifestyle-based factors associated with chronological cognitive decline in cognitively healthy adults aged ≥60 years (Mini-Mental State Examination [MMSE] score ≥27). This case-control study enrolled 363 participants who were divided into two groups based on annual declines in MMSE score: 40 cases with an MMSE score decline of ≥0.5 points/year and 323 controls with maintained MMSE scores. Smoking, lower social functioning scores on the 36-Item Short Form Health Survey version 2, higher Pittsburgh Sleep Quality Index (PSQI) global scores, and sleep disorders were significantly associated with a decline in MMSE scores. Multivariate logistic regression analysis revealed higher age, current smoking status, and either higher PSQI global scores or sleep disorders to be independently associated with MMSE score decline. In conclusion, the present study identified aging, smoking, and sleep quality as factors associated with a greater decline in MMSE scores in cognitively healthy individuals. Our findings highlight the potential importance of lifestyle factors in preventing cognitive decline.</p>","PeriodicalId":49014,"journal":{"name":"Nagoya Journal of Medical Science","volume":"87 1","pages":"105-121"},"PeriodicalIF":0.9000,"publicationDate":"2025-02-01","publicationTypes":"Journal Article","fieldsOfStudy":null,"isOpenAccess":false,"openAccessPdf":"https://www.ncbi.nlm.nih.gov/pmc/articles/PMC12003989/pdf/","citationCount":"0","resultStr":"{\"title\":\"Associations among smoking, sleep quality, and decline in Mini-Mental State Examination scores based on health check-up data in Japan: a case-control study.\",\"authors\":\"Masahiro Nakatochi, Kei Yoshida, Masaya Fujitani, Yuki Ohashi, Fumie Kinoshita, Yumiko Kobayashi, Hiroyuki Sato, Yoshiko Takahashi, Koichi Murashita, Akihiro Hirakawa\",\"doi\":\"10.18999/nagjms.87.1.105\",\"DOIUrl\":null,\"url\":null,\"abstract\":\"<p><p>The number of individuals with age-related mild cognitive impairment and subsequent dementia has inevitably increased with the rise in population aging. It is important to maintain cognitive function or decelerate declines in cognitive function. However, the evidence on lifestyle-based factors associated with this decline is lacking. Here, we investigated modifiable lifestyle-based factors associated with chronological cognitive decline in cognitively healthy adults aged ≥60 years (Mini-Mental State Examination [MMSE] score ≥27). This case-control study enrolled 363 participants who were divided into two groups based on annual declines in MMSE score: 40 cases with an MMSE score decline of ≥0.5 points/year and 323 controls with maintained MMSE scores. Smoking, lower social functioning scores on the 36-Item Short Form Health Survey version 2, higher Pittsburgh Sleep Quality Index (PSQI) global scores, and sleep disorders were significantly associated with a decline in MMSE scores. Multivariate logistic regression analysis revealed higher age, current smoking status, and either higher PSQI global scores or sleep disorders to be independently associated with MMSE score decline. In conclusion, the present study identified aging, smoking, and sleep quality as factors associated with a greater decline in MMSE scores in cognitively healthy individuals. Our findings highlight the potential importance of lifestyle factors in preventing cognitive decline.</p>\",\"PeriodicalId\":49014,\"journal\":{\"name\":\"Nagoya Journal of Medical Science\",\"volume\":\"87 1\",\"pages\":\"105-121\"},\"PeriodicalIF\":0.9000,\"publicationDate\":\"2025-02-01\",\"publicationTypes\":\"Journal Article\",\"fieldsOfStudy\":null,\"isOpenAccess\":false,\"openAccessPdf\":\"https://www.ncbi.nlm.nih.gov/pmc/articles/PMC12003989/pdf/\",\"citationCount\":\"0\",\"resultStr\":null,\"platform\":\"Semanticscholar\",\"paperid\":null,\"PeriodicalName\":\"Nagoya Journal of Medical Science\",\"FirstCategoryId\":\"3\",\"ListUrlMain\":\"https://doi.org/10.18999/nagjms.87.1.105\",\"RegionNum\":4,\"RegionCategory\":\"医学\",\"ArticlePicture\":[],\"TitleCN\":null,\"AbstractTextCN\":null,\"PMCID\":null,\"EPubDate\":\"\",\"PubModel\":\"\",\"JCR\":\"Q4\",\"JCRName\":\"MEDICINE, RESEARCH & EXPERIMENTAL\",\"Score\":null,\"Total\":0}","platform":"Semanticscholar","paperid":null,"PeriodicalName":"Nagoya Journal of Medical Science","FirstCategoryId":"3","ListUrlMain":"https://doi.org/10.18999/nagjms.87.1.105","RegionNum":4,"RegionCategory":"医学","ArticlePicture":[],"TitleCN":null,"AbstractTextCN":null,"PMCID":null,"EPubDate":"","PubModel":"","JCR":"Q4","JCRName":"MEDICINE, RESEARCH & EXPERIMENTAL","Score":null,"Total":0}
引用次数: 0

摘要

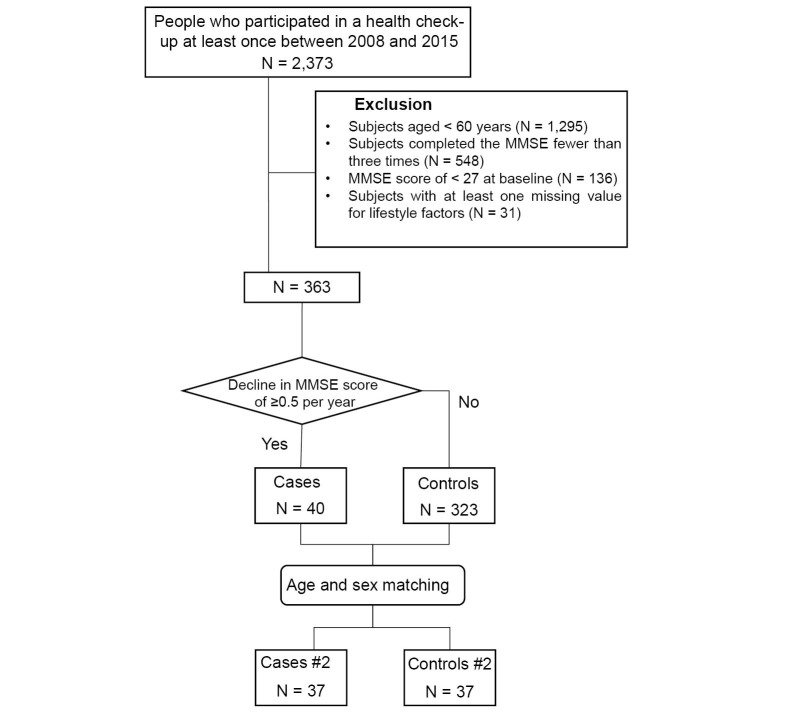
随着人口老龄化的加剧,与年龄相关的轻度认知障碍和随后的痴呆的个体数量不可避免地增加。重要的是维持认知功能或减缓认知功能的下降。然而,与这种下降有关的生活方式因素的证据是缺乏的。在这里,我们调查了与年龄≥60岁的认知健康成人(迷你精神状态检查[MMSE]评分≥27)的时间顺序认知衰退相关的可改变的生活方式因素。这项病例对照研究招募了363名参与者,根据MMSE评分的年下降率分为两组:40例MMSE评分下降≥0.5分/年,323例对照组MMSE评分维持不变。吸烟、较低的社会功能得分(36-Item Short Form Health Survey version 2)、较高的匹兹堡睡眠质量指数(PSQI)整体得分和睡眠障碍与MMSE得分的下降显著相关。多因素logistic回归分析显示,较高的年龄、当前吸烟状况、较高的PSQI总体评分或睡眠障碍与MMSE评分下降独立相关。总之,本研究确定衰老、吸烟和睡眠质量是认知健康个体MMSE得分下降幅度较大的相关因素。我们的发现强调了生活方式因素在预防认知能力下降方面的潜在重要性。
本文章由计算机程序翻译,如有差异,请以英文原文为准。

Associations among smoking, sleep quality, and decline in Mini-Mental State Examination scores based on health check-up data in Japan: a case-control study.

Associations among smoking, sleep quality, and decline in Mini-Mental State Examination scores based on health check-up data in Japan: a case-control study.

The number of individuals with age-related mild cognitive impairment and subsequent dementia has inevitably increased with the rise in population aging. It is important to maintain cognitive function or decelerate declines in cognitive function. However, the evidence on lifestyle-based factors associated with this decline is lacking. Here, we investigated modifiable lifestyle-based factors associated with chronological cognitive decline in cognitively healthy adults aged ≥60 years (Mini-Mental State Examination [MMSE] score ≥27). This case-control study enrolled 363 participants who were divided into two groups based on annual declines in MMSE score: 40 cases with an MMSE score decline of ≥0.5 points/year and 323 controls with maintained MMSE scores. Smoking, lower social functioning scores on the 36-Item Short Form Health Survey version 2, higher Pittsburgh Sleep Quality Index (PSQI) global scores, and sleep disorders were significantly associated with a decline in MMSE scores. Multivariate logistic regression analysis revealed higher age, current smoking status, and either higher PSQI global scores or sleep disorders to be independently associated with MMSE score decline. In conclusion, the present study identified aging, smoking, and sleep quality as factors associated with a greater decline in MMSE scores in cognitively healthy individuals. Our findings highlight the potential importance of lifestyle factors in preventing cognitive decline.

求助全文
通过发布文献求助,成功后即可免费获取论文全文。 去求助
来源期刊
Nagoya Journal of Medical Science
Nagoya Journal of Medical Science MEDICINE, RESEARCH & EXPERIMENTAL-
CiteScore
1.30
自引率
0.00%
发文量
65
审稿时长
>12 weeks
期刊介绍: The Journal publishes original papers in the areas of medical science and its related fields. Reviews, symposium reports, short communications, notes, case reports, hypothesis papers, medical image at a glance, video and announcements are also accepted. Manuscripts should be in English. It is recommended that an English check of the manuscript by a competent and knowledgeable native speaker be completed before submission.
×
引用
GB/T 7714-2015
复制
MLA
复制
APA
复制
导出至
BibTeX EndNote RefMan NoteFirst NoteExpress
×
提示
您的信息不完整,为了账户安全,请先补充。
现在去补充
×
提示
您因"违规操作"
具体请查看互助需知
我知道了
×
提示
确定
请完成安全验证×
copy
已复制链接
快去分享给好友吧!
我知道了
右上角分享
点击右上角分享
0
联系我们:info@booksci.cn Book学术提供免费学术资源搜索服务,方便国内外学者检索中英文文献。致力于提供最便捷和优质的服务体验。 Copyright © 2023 布克学术 All rights reserved.
京ICP备2023020795号-1
ghs 京公网安备 11010802042870号
Book学术文献互助
Book学术文献互助群
群 号:604180095
Book学术官方微信