人机交互中的首选距离。

IF 1.8 Q2 Medicine
Elisabeth Maria Wögerbauer, Christoph von Castell, Robin Welsch, Heiko Hecht
{"title":"人机交互中的首选距离。","authors":"Elisabeth Maria Wögerbauer, Christoph von Castell, Robin Welsch, Heiko Hecht","doi":"10.3390/vision8040059","DOIUrl":null,"url":null,"abstract":"<p><p>In two augmented-reality experiments, we transferred the paradigm of interpersonal distance regulation to human-drone interaction. In the first experiment, we used a simple spherical drone model and explored how both hovering height and approach angle affect the preferred distance. Drone height above the ground had a strong effect. The preferred distance to the drone was larger than that typically found toward human actors, in particular, when the drone trajectory was very high. In the second experiment, we sought to gain a deeper understanding of the factors that may influence this effect. In addition to the simple spherical drone model used in the first experiment, we also varied its appearance and attachment to the ground. Surprisingly, anthropomorphic features increased preferred distances. We, therefore, discuss the extent to which social aspects and subjectively perceived danger influence the preferred distance for interaction with drones, which thus need to be considered in the design of human-drone interaction.</p>","PeriodicalId":36586,"journal":{"name":"Vision (Switzerland)","volume":"8 4","pages":""},"PeriodicalIF":1.8000,"publicationDate":"2024-10-01","publicationTypes":"Journal Article","fieldsOfStudy":null,"isOpenAccess":false,"openAccessPdf":"https://www.ncbi.nlm.nih.gov/pmc/articles/PMC11503297/pdf/","citationCount":"0","resultStr":"{\"title\":\"Preferred Distance in Human-Drone Interaction.\",\"authors\":\"Elisabeth Maria Wögerbauer, Christoph von Castell, Robin Welsch, Heiko Hecht\",\"doi\":\"10.3390/vision8040059\",\"DOIUrl\":null,\"url\":null,\"abstract\":\"<p><p>In two augmented-reality experiments, we transferred the paradigm of interpersonal distance regulation to human-drone interaction. In the first experiment, we used a simple spherical drone model and explored how both hovering height and approach angle affect the preferred distance. Drone height above the ground had a strong effect. The preferred distance to the drone was larger than that typically found toward human actors, in particular, when the drone trajectory was very high. In the second experiment, we sought to gain a deeper understanding of the factors that may influence this effect. In addition to the simple spherical drone model used in the first experiment, we also varied its appearance and attachment to the ground. Surprisingly, anthropomorphic features increased preferred distances. We, therefore, discuss the extent to which social aspects and subjectively perceived danger influence the preferred distance for interaction with drones, which thus need to be considered in the design of human-drone interaction.</p>\",\"PeriodicalId\":36586,\"journal\":{\"name\":\"Vision (Switzerland)\",\"volume\":\"8 4\",\"pages\":\"\"},\"PeriodicalIF\":1.8000,\"publicationDate\":\"2024-10-01\",\"publicationTypes\":\"Journal Article\",\"fieldsOfStudy\":null,\"isOpenAccess\":false,\"openAccessPdf\":\"https://www.ncbi.nlm.nih.gov/pmc/articles/PMC11503297/pdf/\",\"citationCount\":\"0\",\"resultStr\":null,\"platform\":\"Semanticscholar\",\"paperid\":null,\"PeriodicalName\":\"Vision (Switzerland)\",\"FirstCategoryId\":\"1085\",\"ListUrlMain\":\"https://doi.org/10.3390/vision8040059\",\"RegionNum\":0,\"RegionCategory\":null,\"ArticlePicture\":[],\"TitleCN\":null,\"AbstractTextCN\":null,\"PMCID\":null,\"EPubDate\":\"\",\"PubModel\":\"\",\"JCR\":\"Q2\",\"JCRName\":\"Medicine\",\"Score\":null,\"Total\":0}","platform":"Semanticscholar","paperid":null,"PeriodicalName":"Vision (Switzerland)","FirstCategoryId":"1085","ListUrlMain":"https://doi.org/10.3390/vision8040059","RegionNum":0,"RegionCategory":null,"ArticlePicture":[],"TitleCN":null,"AbstractTextCN":null,"PMCID":null,"EPubDate":"","PubModel":"","JCR":"Q2","JCRName":"Medicine","Score":null,"Total":0}
引用次数: 0

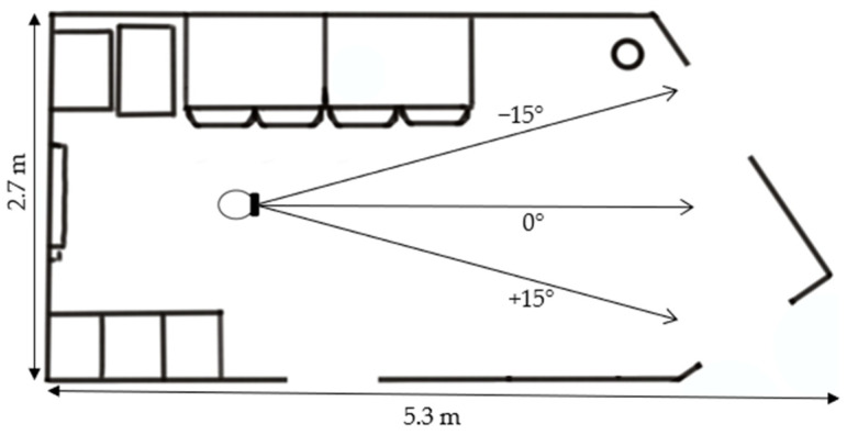
摘要

在两个增强现实实验中,我们将人际距离调节范式应用到了人与无人机的互动中。在第一个实验中,我们使用了一个简单的球形无人机模型,并探索了悬停高度和接近角度如何影响首选距离。无人机离地面的高度影响很大。对无人机的首选距离大于对人类行动者的首选距离,尤其是当无人机的飞行轨迹非常高时。在第二个实验中,我们试图更深入地了解可能影响这种效应的因素。除了第一个实验中使用的简单球形无人机模型外,我们还改变了它的外观和与地面的连接方式。令人惊讶的是,拟人化特征增加了首选距离。因此,我们讨论了社会因素和主观感受到的危险在多大程度上影响了与无人机互动的首选距离,因此在设计人与无人机的互动时需要考虑这些因素。
本文章由计算机程序翻译,如有差异,请以英文原文为准。

Preferred Distance in Human-Drone Interaction.

Preferred Distance in Human-Drone Interaction.

Preferred Distance in Human-Drone Interaction.

Preferred Distance in Human-Drone Interaction.

In two augmented-reality experiments, we transferred the paradigm of interpersonal distance regulation to human-drone interaction. In the first experiment, we used a simple spherical drone model and explored how both hovering height and approach angle affect the preferred distance. Drone height above the ground had a strong effect. The preferred distance to the drone was larger than that typically found toward human actors, in particular, when the drone trajectory was very high. In the second experiment, we sought to gain a deeper understanding of the factors that may influence this effect. In addition to the simple spherical drone model used in the first experiment, we also varied its appearance and attachment to the ground. Surprisingly, anthropomorphic features increased preferred distances. We, therefore, discuss the extent to which social aspects and subjectively perceived danger influence the preferred distance for interaction with drones, which thus need to be considered in the design of human-drone interaction.

求助全文
通过发布文献求助,成功后即可免费获取论文全文。 去求助
来源期刊
Vision (Switzerland)
Vision (Switzerland) Health Professions-Optometry
CiteScore
2.30
自引率
0.00%
发文量
62
审稿时长
11 weeks
×
引用
GB/T 7714-2015
复制
MLA
复制
APA
复制
导出至
BibTeX EndNote RefMan NoteFirst NoteExpress
×
提示
您的信息不完整,为了账户安全,请先补充。
现在去补充
×
提示
您因"违规操作"
具体请查看互助需知
我知道了
×
提示
确定
请完成安全验证×
copy
已复制链接
快去分享给好友吧!
我知道了
右上角分享
点击右上角分享
0
联系我们:info@booksci.cn Book学术提供免费学术资源搜索服务,方便国内外学者检索中英文文献。致力于提供最便捷和优质的服务体验。 Copyright © 2023 布克学术 All rights reserved.
京ICP备2023020795号-1
ghs 京公网安备 11010802042870号
Book学术文献互助
Book学术文献互助群
群 号:604180095
Book学术官方微信