一例罕见的无症状的颅骨佩吉特病在一个60岁的亚洲女性。

Muhammad Ali, Omama Farooq, Zahra Rafique, Hajrah Farooq, Fazeelat Iftikhar, Muqadsa Malik
{"title":"一例罕见的无症状的颅骨佩吉特病在一个60岁的亚洲女性。","authors":"Muhammad Ali,&nbsp;Omama Farooq,&nbsp;Zahra Rafique,&nbsp;Hajrah Farooq,&nbsp;Fazeelat Iftikhar,&nbsp;Muqadsa Malik","doi":"","DOIUrl":null,"url":null,"abstract":"<p><strong>Background and aim: </strong>Paget's disease of the bone refers to a chronic cumulative disorder characterized by enhanced osteoclastic function followed by a secondary surge in osteoblastic activity. The condition can manifest as a polyostotic or monostotic bone disease with most patients having an asymptomatic presentation, although some may complain of pain localized to the affected bone while others express symptoms of nerve compression. A pagetic bone is predisposed to develop pathological fractures, bony deformities, and a rare yet detrimental transformation into osteosarcoma. Detection is often accidental when performing radiographic tests for other indications or when elevated blood levels of alkaline phosphatase (ALP) are detected. Treatment with third-generation bisphosphonates is helpful in preventing further bone resorption and, additionally, reduces bony pains that are believed to be caused by excessive metabolic activity. Here, we present a case of a middle-aged asymptomatic female with elevated serum ALP levels up to 1537 IU/L (reference range 40-150 U/L) during her pre-operative evaluation for elective cholecystectomy.<sup>99m</sup> Tc-methylene diphosphonate bone scintigraphy revealed diffuse uptake in the skull and, hence, was diagnosed as a case of isolated Paget's disease of the skull.</p><p><strong>Relevance for patients: </strong>The rarity of this disease in Southeast-Asians, its uncontrived detection, and the isolated skull involvement, imparts high clinical relevance on this case. Early detection and management of this disease can help prevent the development of life-threatening complications in affected patients, hence decreasing the morbidity.</p>","PeriodicalId":15482,"journal":{"name":"Journal of Clinical and Translational Research","volume":"9 4","pages":"261-264"},"PeriodicalIF":0.0000,"publicationDate":"2023-08-31","publicationTypes":"Journal Article","fieldsOfStudy":null,"isOpenAccess":false,"openAccessPdf":"https://ftp.ncbi.nlm.nih.gov/pub/pmc/oa_pdf/b9/42/jclintranslres-2023-9-4-261.PMC10431192.pdf","citationCount":"0","resultStr":"{\"title\":\"A rare case of asymptomatic Paget's disease of the skull in a 60-year-old Asian female.\",\"authors\":\"Muhammad Ali,&nbsp;Omama Farooq,&nbsp;Zahra Rafique,&nbsp;Hajrah Farooq,&nbsp;Fazeelat Iftikhar,&nbsp;Muqadsa Malik\",\"doi\":\"\",\"DOIUrl\":null,\"url\":null,\"abstract\":\"<p><strong>Background and aim: </strong>Paget's disease of the bone refers to a chronic cumulative disorder characterized by enhanced osteoclastic function followed by a secondary surge in osteoblastic activity. The condition can manifest as a polyostotic or monostotic bone disease with most patients having an asymptomatic presentation, although some may complain of pain localized to the affected bone while others express symptoms of nerve compression. A pagetic bone is predisposed to develop pathological fractures, bony deformities, and a rare yet detrimental transformation into osteosarcoma. Detection is often accidental when performing radiographic tests for other indications or when elevated blood levels of alkaline phosphatase (ALP) are detected. Treatment with third-generation bisphosphonates is helpful in preventing further bone resorption and, additionally, reduces bony pains that are believed to be caused by excessive metabolic activity. Here, we present a case of a middle-aged asymptomatic female with elevated serum ALP levels up to 1537 IU/L (reference range 40-150 U/L) during her pre-operative evaluation for elective cholecystectomy.<sup>99m</sup> Tc-methylene diphosphonate bone scintigraphy revealed diffuse uptake in the skull and, hence, was diagnosed as a case of isolated Paget's disease of the skull.</p><p><strong>Relevance for patients: </strong>The rarity of this disease in Southeast-Asians, its uncontrived detection, and the isolated skull involvement, imparts high clinical relevance on this case. Early detection and management of this disease can help prevent the development of life-threatening complications in affected patients, hence decreasing the morbidity.</p>\",\"PeriodicalId\":15482,\"journal\":{\"name\":\"Journal of Clinical and Translational Research\",\"volume\":\"9 4\",\"pages\":\"261-264\"},\"PeriodicalIF\":0.0000,\"publicationDate\":\"2023-08-31\",\"publicationTypes\":\"Journal Article\",\"fieldsOfStudy\":null,\"isOpenAccess\":false,\"openAccessPdf\":\"https://ftp.ncbi.nlm.nih.gov/pub/pmc/oa_pdf/b9/42/jclintranslres-2023-9-4-261.PMC10431192.pdf\",\"citationCount\":\"0\",\"resultStr\":null,\"platform\":\"Semanticscholar\",\"paperid\":null,\"PeriodicalName\":\"Journal of Clinical and Translational Research\",\"FirstCategoryId\":\"1085\",\"ListUrlMain\":\"\",\"RegionNum\":0,\"RegionCategory\":null,\"ArticlePicture\":[],\"TitleCN\":null,\"AbstractTextCN\":null,\"PMCID\":null,\"EPubDate\":\"\",\"PubModel\":\"\",\"JCR\":\"\",\"JCRName\":\"\",\"Score\":null,\"Total\":0}","platform":"Semanticscholar","paperid":null,"PeriodicalName":"Journal of Clinical and Translational Research","FirstCategoryId":"1085","ListUrlMain":"","RegionNum":0,"RegionCategory":null,"ArticlePicture":[],"TitleCN":null,"AbstractTextCN":null,"PMCID":null,"EPubDate":"","PubModel":"","JCR":"","JCRName":"","Score":null,"Total":0}
引用次数: 0

摘要

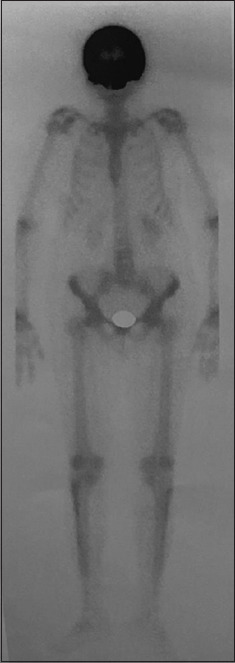
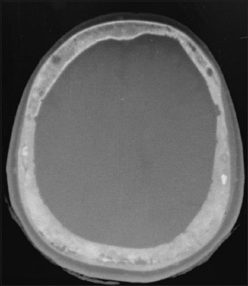
背景和目的:骨佩吉特病是一种慢性累积性疾病,其特征是破骨细胞功能增强,其次是成骨细胞活性的二次激增。该病可表现为多骨或单骨病,大多数患者无症状表现,尽管一些患者可能主诉疼痛局限于受影响的骨骼,而另一些患者则表现出神经压迫症状。异位骨易发生病理性骨折、骨畸形和罕见但有害的骨肉瘤转变。当为其他适应症进行放射检查或检测到血液中碱性磷酸酶(ALP)水平升高时,检测常常是偶然的。使用第三代双膦酸盐治疗有助于防止进一步的骨吸收,此外,减少被认为是由过度代谢活动引起的骨痛。在此,我们报告一例中年无症状女性,在择期胆囊切除术的术前评估中,血清ALP水平升高至1537 IU/L(参考范围40-150 U/L)。99m tc -二膦酸亚甲基骨显像显示颅骨弥漫性摄取,因此诊断为一例孤立性颅骨佩吉特病。与患者的相关性:该病在东南亚的罕见性,其未被人为发现,以及孤立的颅骨受累,赋予了本病例很高的临床相关性。这种疾病的早期发现和管理有助于预防患者出现危及生命的并发症,从而降低发病率。
本文章由计算机程序翻译,如有差异,请以英文原文为准。

A rare case of asymptomatic Paget's disease of the skull in a 60-year-old Asian female.

A rare case of asymptomatic Paget's disease of the skull in a 60-year-old Asian female.

A rare case of asymptomatic Paget's disease of the skull in a 60-year-old Asian female.

A rare case of asymptomatic Paget's disease of the skull in a 60-year-old Asian female.

Background and aim: Paget's disease of the bone refers to a chronic cumulative disorder characterized by enhanced osteoclastic function followed by a secondary surge in osteoblastic activity. The condition can manifest as a polyostotic or monostotic bone disease with most patients having an asymptomatic presentation, although some may complain of pain localized to the affected bone while others express symptoms of nerve compression. A pagetic bone is predisposed to develop pathological fractures, bony deformities, and a rare yet detrimental transformation into osteosarcoma. Detection is often accidental when performing radiographic tests for other indications or when elevated blood levels of alkaline phosphatase (ALP) are detected. Treatment with third-generation bisphosphonates is helpful in preventing further bone resorption and, additionally, reduces bony pains that are believed to be caused by excessive metabolic activity. Here, we present a case of a middle-aged asymptomatic female with elevated serum ALP levels up to 1537 IU/L (reference range 40-150 U/L) during her pre-operative evaluation for elective cholecystectomy.99m Tc-methylene diphosphonate bone scintigraphy revealed diffuse uptake in the skull and, hence, was diagnosed as a case of isolated Paget's disease of the skull.

Relevance for patients: The rarity of this disease in Southeast-Asians, its uncontrived detection, and the isolated skull involvement, imparts high clinical relevance on this case. Early detection and management of this disease can help prevent the development of life-threatening complications in affected patients, hence decreasing the morbidity.

求助全文
通过发布文献求助,成功后即可免费获取论文全文。 去求助
来源期刊
自引率
0.00%
发文量
0
×
引用
GB/T 7714-2015
复制
MLA
复制
APA
复制
导出至
BibTeX EndNote RefMan NoteFirst NoteExpress
×
提示
您的信息不完整,为了账户安全,请先补充。
现在去补充
×
提示
您因"违规操作"
具体请查看互助需知
我知道了
×
提示
确定
请完成安全验证×
copy
已复制链接
快去分享给好友吧!
我知道了
右上角分享
点击右上角分享
0
联系我们:info@booksci.cn Book学术提供免费学术资源搜索服务,方便国内外学者检索中英文文献。致力于提供最便捷和优质的服务体验。 Copyright © 2023 布克学术 All rights reserved.
京ICP备2023020795号-1
ghs 京公网安备 11010802042870号
Book学术文献互助
Book学术文献互助群
群 号:604180095
Book学术官方微信