Integrated air quality prediction and mitigation strategies for sustainable mining operations in India

IF 2.9 4区 环境科学与生态学 Q3 ENVIRONMENTAL SCIENCES
Swades Kumar Chaulya, Shailendra Kumar Singh, Siddharth Singh, Gautam Chandra Mondal, Ranjeet Kumar Singh, Sameer Shekhar
{"title":"Integrated air quality prediction and mitigation strategies for sustainable mining operations in India","authors":"Swades Kumar Chaulya,&nbsp;Shailendra Kumar Singh,&nbsp;Siddharth Singh,&nbsp;Gautam Chandra Mondal,&nbsp;Ranjeet Kumar Singh,&nbsp;Sameer Shekhar","doi":"10.1007/s11869-025-01720-9","DOIUrl":null,"url":null,"abstract":"<div><p>The study focuses on dual purpose of forecasting air pollution levels and implementing eco-friendly dust suppression methods for a planned expansion of a lignite mine in India, aligning with the goal of achieving sustainable mining practices. The main objective is to predict the highest concentration of dust emissions from the mine, both with and without the implementation of mitigation measures. The study determined the baseline levels of PM<sub>10</sub>, PM<sub>2.5</sub>, SO<sub>2</sub>, and NO<sub>x</sub> in the surrounding of the mine site. The recorded values ranged from 53.1–79.5, 20.2–43.2, 16.6–31.2, and 21.2–50.1 µg m<sup>–3</sup>, correspondingly. The concentrations detected were below the allowable thresholds of 100, 60, 80, and 80 µg m<sup>–3</sup>, correspondingly. Air quality modelling was conducted to forecast the air quality in the vicinity of the lignite mine, both with and without the implementation of control measures during the project's expansion phase. This was achieved by measuring background air pollutants level, assessing emission sources, determining activity-specific emission rates, analysing micro-meteorological parameters, and identifying receptor locations. Without the application of control measures, the projected levels of PM<sub>10</sub>, PM<sub>2.5</sub>, SO<sub>2</sub>, and NO<sub>x</sub> are assessed to range from 73.9–97.1, 31.9–44.2, 11.46–21.09, and 15.27–28.40 µg m<sup>–3</sup>, respectively. However, by employing mitigation measures during the mine's expansion operation, it is expected that the amounts of PM<sub>10</sub>, PM<sub>2.5</sub>, SO<sub>2</sub>, and NO<sub>x</sub> will be within the range of 73.5–82.5, 31.8–43.8, 9.38–20.14, and 13.17–25.45 µg m<sup>–3</sup>, respectively. Accordingly, it is anticipated that the air pollutants will persist lower than the allowable limits in the surrounding buffer zone with control measures. Hence, the study also proposes effective measures to control dust pollution, together with a comprehensive description of the developed intelligent dust suppression systems those can be utilized at different dust-emission sources within the opencast mine for ecofriendly and clean mining.</p></div>","PeriodicalId":49109,"journal":{"name":"Air Quality Atmosphere and Health","volume":"18 5","pages":"1615 - 1633"},"PeriodicalIF":2.9000,"publicationDate":"2025-02-26","publicationTypes":"Journal Article","fieldsOfStudy":null,"isOpenAccess":false,"openAccessPdf":"","citationCount":"0","resultStr":null,"platform":"Semanticscholar","paperid":null,"PeriodicalName":"Air Quality Atmosphere and Health","FirstCategoryId":"93","ListUrlMain":"https://link.springer.com/article/10.1007/s11869-025-01720-9","RegionNum":4,"RegionCategory":"环境科学与生态学","ArticlePicture":[],"TitleCN":null,"AbstractTextCN":null,"PMCID":null,"EPubDate":"","PubModel":"","JCR":"Q3","JCRName":"ENVIRONMENTAL SCIENCES","Score":null,"Total":0}
引用次数: 0

Abstract

The study focuses on dual purpose of forecasting air pollution levels and implementing eco-friendly dust suppression methods for a planned expansion of a lignite mine in India, aligning with the goal of achieving sustainable mining practices. The main objective is to predict the highest concentration of dust emissions from the mine, both with and without the implementation of mitigation measures. The study determined the baseline levels of PM10, PM2.5, SO2, and NOx in the surrounding of the mine site. The recorded values ranged from 53.1–79.5, 20.2–43.2, 16.6–31.2, and 21.2–50.1 µg m–3, correspondingly. The concentrations detected were below the allowable thresholds of 100, 60, 80, and 80 µg m–3, correspondingly. Air quality modelling was conducted to forecast the air quality in the vicinity of the lignite mine, both with and without the implementation of control measures during the project's expansion phase. This was achieved by measuring background air pollutants level, assessing emission sources, determining activity-specific emission rates, analysing micro-meteorological parameters, and identifying receptor locations. Without the application of control measures, the projected levels of PM10, PM2.5, SO2, and NOx are assessed to range from 73.9–97.1, 31.9–44.2, 11.46–21.09, and 15.27–28.40 µg m–3, respectively. However, by employing mitigation measures during the mine's expansion operation, it is expected that the amounts of PM10, PM2.5, SO2, and NOx will be within the range of 73.5–82.5, 31.8–43.8, 9.38–20.14, and 13.17–25.45 µg m–3, respectively. Accordingly, it is anticipated that the air pollutants will persist lower than the allowable limits in the surrounding buffer zone with control measures. Hence, the study also proposes effective measures to control dust pollution, together with a comprehensive description of the developed intelligent dust suppression systems those can be utilized at different dust-emission sources within the opencast mine for ecofriendly and clean mining.

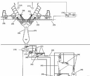
Abstract Image

印度可持续采矿作业综合空气质量预测和缓解战略
该研究的重点是预测空气污染水平和实施生态友好的粉尘抑制方法,为印度褐煤矿的计划扩张提供双重目的,以实现可持续采矿实践的目标。主要目标是预测在采取或不采取缓解措施的情况下,该矿粉尘排放的最高浓度。该研究确定了矿区周围的PM10、PM2.5、SO2和NOx的基线水平。记录值分别为53.1 ~ 79.5、20.2 ~ 43.2、16.6 ~ 31.2和21.2 ~ 50.1µg m-3。检测到的浓度分别低于100、60、80和80µg - 3的允许阈值。进行空气质量模拟,预测在项目扩建阶段实施和不实施控制措施的情况下,褐煤矿附近的空气质量。这是通过测量本底空气污染物水平、评估排放源、确定特定活动排放率、分析微气象参数和确定受体位置来实现的。在不采取控制措施的情况下,PM10、PM2.5、SO2和NOx的预计水平分别为73.9 ~ 97.1、31.9 ~ 44.2、11.46 ~ 21.09和15.27 ~ 28.40µg m-3。但通过矿山扩产期间采取缓解措施,预计PM10、PM2.5、SO2、NOx的量分别在73.5 ~ 82.5、31.8 ~ 43.8、9.38 ~ 20.14、13.17 ~ 25.45µg m-3范围内。因此,预计在采取控制措施后,周围缓冲地带的空气污染物将持续低于允许值。在此基础上,提出了控制粉尘污染的有效措施,并对所开发的针对露天矿不同粉尘排放源的智能降尘系统进行了全面介绍,实现了矿山的生态清洁开采。
本文章由计算机程序翻译,如有差异,请以英文原文为准。
求助全文
约1分钟内获得全文 求助全文
来源期刊
Air Quality Atmosphere and Health
Air Quality Atmosphere and Health ENVIRONMENTAL SCIENCES-
CiteScore
8.80
自引率
2.00%
发文量
146
审稿时长
>12 weeks
期刊介绍: Air Quality, Atmosphere, and Health is a multidisciplinary journal which, by its very name, illustrates the broad range of work it publishes and which focuses on atmospheric consequences of human activities and their implications for human and ecological health. It offers research papers, critical literature reviews and commentaries, as well as special issues devoted to topical subjects or themes. International in scope, the journal presents papers that inform and stimulate a global readership, as the topic addressed are global in their import. Consequently, we do not encourage submission of papers involving local data that relate to local problems. Unless they demonstrate wide applicability, these are better submitted to national or regional journals. Air Quality, Atmosphere & Health addresses such topics as acid precipitation; airborne particulate matter; air quality monitoring and management; exposure assessment; risk assessment; indoor air quality; atmospheric chemistry; atmospheric modeling and prediction; air pollution climatology; climate change and air quality; air pollution measurement; atmospheric impact assessment; forest-fire emissions; atmospheric science; greenhouse gases; health and ecological effects; clean air technology; regional and global change and satellite measurements. This journal benefits a diverse audience of researchers, public health officials and policy makers addressing problems that call for solutions based in evidence from atmospheric and exposure assessment scientists, epidemiologists, and risk assessors. Publication in the journal affords the opportunity to reach beyond defined disciplinary niches to this broader readership.
×
引用
GB/T 7714-2015
复制
MLA
复制
APA
复制
导出至
BibTeX EndNote RefMan NoteFirst NoteExpress
×
提示
您的信息不完整,为了账户安全,请先补充。
现在去补充
×
提示
您因"违规操作"
具体请查看互助需知
我知道了
×
提示
确定
请完成安全验证×
copy
已复制链接
快去分享给好友吧!
我知道了
右上角分享
点击右上角分享
0
联系我们:info@booksci.cn Book学术提供免费学术资源搜索服务,方便国内外学者检索中英文文献。致力于提供最便捷和优质的服务体验。 Copyright © 2023 布克学术 All rights reserved.
京ICP备2023020795号-1
ghs 京公网安备 11010802042870号
Book学术文献互助
Book学术文献互助群
群 号:604180095
Book学术官方微信