Pericardial Fat Is Associated With Less Severe Multiorgan Failure Over Time in Patients With Coronavirus Disease-19: The Maastricht Intensive Care COVID Cohort.

IF 1.9 4区 医学 Q3 RADIOLOGY, NUCLEAR MEDICINE & MEDICAL IMAGING
Journal of Thoracic Imaging Pub Date : 2024-05-01 Epub Date: 2023-08-25 DOI:10.1097/RTI.0000000000000732
Eda Aydeniz, Vanessa Weberndorfer, Lloyd Brandts, Martijn W Smulders, Thijs T W van Herpt, Bibi Martens, Kevin Vernooy, Dominik Linz, Iwan C C van der Horst, Joachim E Wildberger, Bas C T van Bussel, Rob G H Driessen, Casper Mihl
{"title":"Pericardial Fat Is Associated With Less Severe Multiorgan Failure Over Time in Patients With Coronavirus Disease-19: The Maastricht Intensive Care COVID Cohort.","authors":"Eda Aydeniz, Vanessa Weberndorfer, Lloyd Brandts, Martijn W Smulders, Thijs T W van Herpt, Bibi Martens, Kevin Vernooy, Dominik Linz, Iwan C C van der Horst, Joachim E Wildberger, Bas C T van Bussel, Rob G H Driessen, Casper Mihl","doi":"10.1097/RTI.0000000000000732","DOIUrl":null,"url":null,"abstract":"<p><strong>Purpose: </strong>Pericardial fat (PF) and epicardial adipose tissue (EAT) may enhance the proinflammatory response in corona virus-19 (COVID-19) patients. Higher PF and EAT volumes might result in multiorgan failure and explain unfavorable trajectories.The aim of this study was to examine the association between the volume of PF and EAT and multiorgan failure over time.</p><p><strong>Materials and methods: </strong>All mechanically ventilated COVID-19 patients with an available chest computed tomography were prospectively included (March-June 2020). PF and EAT volumes were quantified using chest computed tomography scans. Patients were categorized into sex-specific PF and EAT tertiles. Variables to calculate Sequential Organ Failure Assessment (SOFA) scores were collected daily to indicate multiorgan failure. Linear mixed-effects regression was used to investigate the association between tertiles for PF and EAT volumes separately and serial SOFA scores over time. All models were adjusted.</p><p><strong>Results: </strong>Sixty-three patients were divided into PF and EAT tertiles, with median PF volumes of 131.4 mL (IQR [interquartile range]: 115.7, 143.2 mL), 199.8 mL (IQR: 175.9, 221.6 mL), and 318.8 mL (IQR: 281.9, 376.8 mL) and median EAT volumes of 69.6 mL (IQR: 57.0, 79.4 mL), 107.9 mL (IQR: 104.6, 115.1 mL), and 163.8 mL (IQR: 146.5, 203.1 mL). Patients in the highest PF tertile had a statistically significantly lower SOFA score over time (1.3 [-2.5, -0.1], P =0.033) compared with the lowest PF tertile. EAT tertiles were not significantly associated with SOFA scores over time.</p><p><strong>Conclusion: </strong>A higher PF volume is associated with less multiorgan failure in mechanically ventilated COVID-19 patients. EAT volumes were not associated with multiorgan failure.</p>","PeriodicalId":49974,"journal":{"name":"Journal of Thoracic Imaging","volume":" ","pages":"W32-W39"},"PeriodicalIF":1.9000,"publicationDate":"2024-05-01","publicationTypes":"Journal Article","fieldsOfStudy":null,"isOpenAccess":false,"openAccessPdf":"https://www.ncbi.nlm.nih.gov/pmc/articles/PMC11027979/pdf/","citationCount":"0","resultStr":null,"platform":"Semanticscholar","paperid":null,"PeriodicalName":"Journal of Thoracic Imaging","FirstCategoryId":"3","ListUrlMain":"https://doi.org/10.1097/RTI.0000000000000732","RegionNum":4,"RegionCategory":"医学","ArticlePicture":[],"TitleCN":null,"AbstractTextCN":null,"PMCID":null,"EPubDate":"2023/8/25 0:00:00","PubModel":"Epub","JCR":"Q3","JCRName":"RADIOLOGY, NUCLEAR MEDICINE & MEDICAL IMAGING","Score":null,"Total":0}
引用次数: 0

Abstract

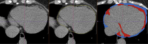
Purpose: Pericardial fat (PF) and epicardial adipose tissue (EAT) may enhance the proinflammatory response in corona virus-19 (COVID-19) patients. Higher PF and EAT volumes might result in multiorgan failure and explain unfavorable trajectories.The aim of this study was to examine the association between the volume of PF and EAT and multiorgan failure over time.

Materials and methods: All mechanically ventilated COVID-19 patients with an available chest computed tomography were prospectively included (March-June 2020). PF and EAT volumes were quantified using chest computed tomography scans. Patients were categorized into sex-specific PF and EAT tertiles. Variables to calculate Sequential Organ Failure Assessment (SOFA) scores were collected daily to indicate multiorgan failure. Linear mixed-effects regression was used to investigate the association between tertiles for PF and EAT volumes separately and serial SOFA scores over time. All models were adjusted.

Results: Sixty-three patients were divided into PF and EAT tertiles, with median PF volumes of 131.4 mL (IQR [interquartile range]: 115.7, 143.2 mL), 199.8 mL (IQR: 175.9, 221.6 mL), and 318.8 mL (IQR: 281.9, 376.8 mL) and median EAT volumes of 69.6 mL (IQR: 57.0, 79.4 mL), 107.9 mL (IQR: 104.6, 115.1 mL), and 163.8 mL (IQR: 146.5, 203.1 mL). Patients in the highest PF tertile had a statistically significantly lower SOFA score over time (1.3 [-2.5, -0.1], P =0.033) compared with the lowest PF tertile. EAT tertiles were not significantly associated with SOFA scores over time.

Conclusion: A higher PF volume is associated with less multiorgan failure in mechanically ventilated COVID-19 patients. EAT volumes were not associated with multiorgan failure.

Abstract Image

Abstract Image

Abstract Image

随着时间的推移,冠状病毒病患者的心包脂肪与较轻的多器官衰竭有关:马斯特里赫特重症监护新冠肺炎队列。
目的:心包脂肪(PF)和心外膜脂肪组织(EAT)可能增强新冠肺炎患者的促炎反应。较高的PF和EAT体积可能会导致多器官衰竭,并解释不利的轨迹。本研究的目的是检查PF和EAT的体积与多器官衰竭之间的关系。材料和方法:前瞻性纳入所有具有可用胸部计算机断层扫描的机械通气新冠肺炎患者(2020年3月至6月)。使用胸部计算机断层扫描对PF和EAT体积进行量化。将患者分为性别特异性PF和EAT三分位。每天收集用于计算顺序器官衰竭评估(SOFA)评分的变量,以指示多器官衰竭。线性混合效应回归用于研究PF和EAT体积的三分位数与一段时间内SOFA系列评分之间的相关性。所有型号都进行了调整。结果:63名患者被分为PF和EAT三分位数,中位PF体积分别为131.4 mL(IQR[四分位数间距]:115.7143.2 mL)、199.8 mL(IQR:175.9221.6 mL)和318.8 mL(IQ:281.9376.8 mL),和163.8 mL(IQR:146.5203.1 mL)。随着时间的推移,PF三分位数最高的患者的SOFA评分(1.3[-2.5,-0.1],P=0.033)与PF三分位最低的患者相比,在统计学上显著降低。随着时间的推移,EAT三分位数与SOFA得分没有显著相关性。结论:机械通气新冠肺炎患者PF容量越高,多器官衰竭越少。EAT容量与多器官衰竭无关。
本文章由计算机程序翻译,如有差异,请以英文原文为准。
求助全文
约1分钟内获得全文 求助全文
来源期刊
Journal of Thoracic Imaging
Journal of Thoracic Imaging 医学-核医学
CiteScore
7.10
自引率
9.10%
发文量
87
审稿时长
6-12 weeks
期刊介绍: Journal of Thoracic Imaging (JTI) provides authoritative information on all aspects of the use of imaging techniques in the diagnosis of cardiac and pulmonary diseases. Original articles and analytical reviews published in this timely journal provide the very latest thinking of leading experts concerning the use of chest radiography, computed tomography, magnetic resonance imaging, positron emission tomography, ultrasound, and all other promising imaging techniques in cardiopulmonary radiology. Official Journal of the Society of Thoracic Radiology: Japanese Society of Thoracic Radiology Korean Society of Thoracic Radiology European Society of Thoracic Imaging.
×
引用
GB/T 7714-2015
复制
MLA
复制
APA
复制
导出至
BibTeX EndNote RefMan NoteFirst NoteExpress
×
提示
您的信息不完整,为了账户安全,请先补充。
现在去补充
×
提示
您因"违规操作"
具体请查看互助需知
我知道了
×
提示
确定
请完成安全验证×
copy
已复制链接
快去分享给好友吧!
我知道了
右上角分享
点击右上角分享
0
联系我们:info@booksci.cn Book学术提供免费学术资源搜索服务,方便国内外学者检索中英文文献。致力于提供最便捷和优质的服务体验。 Copyright © 2023 布克学术 All rights reserved.
京ICP备2023020795号-1
ghs 京公网安备 11010802042870号
Book学术文献互助
Book学术文献互助群
群 号:604180095
Book学术官方微信