旋流炉中煤的无油燃烧

IF 0.5 Q4 ENGINEERING, CHEMICAL
V. I. Golik, R. Yu. Israilov, N. Yu. Plyushchenko
{"title":"旋流炉中煤的无油燃烧","authors":"V. I. Golik,&nbsp;R. Yu. Israilov,&nbsp;N. Yu. Plyushchenko","doi":"10.3103/S1068364X25600265","DOIUrl":null,"url":null,"abstract":"<p>Fuel economy in boilers is an urgent concern. Coal combustion with fuel oil is currently employed for that purpose, but this approach impairs electricity generation and releases oxides of sulfur and nitrogen into the environment. An alternative is oil-free combustion with plasma activation of the coal. Preliminary plasma activation results in more efficient combustion in the absence of fuel oil. The effectiveness of this technology is confirmed by familiar methods: engineering analysis, economic assessment, elaboration of a theory, experimental testing, and formulation of recommendations for optimizing the technology. The influence of plasma activation on the coal combustion is studied. The resulting technology for thermal preparation and combustion of coal in a cyclone furnace is an alternative to combustion with fuel oil in industrial boilers. The design of the system for regulating combustion with partial gasification of the working fuel is improved. Using this technology, it proves possible to use low-grade coal as the fuel. The emission of nitrogen oxides is decreased, and boiler performance is improved. Oil-free fuel combustion in a cyclone furnace is promising for use in power generation. It is shown that coal combustion with chemical activation or high-temperature plasma activation may be used in modernizing or constructing thermal power stations.</p>","PeriodicalId":519,"journal":{"name":"Coke and Chemistry","volume":"68 2","pages":"121 - 125"},"PeriodicalIF":0.5000,"publicationDate":"2025-06-01","publicationTypes":"Journal Article","fieldsOfStudy":null,"isOpenAccess":false,"openAccessPdf":"","citationCount":"0","resultStr":"{\"title\":\"Oil-Free Combustion of Coal in a Cyclone Furnace\",\"authors\":\"V. I. Golik,&nbsp;R. Yu. Israilov,&nbsp;N. Yu. Plyushchenko\",\"doi\":\"10.3103/S1068364X25600265\",\"DOIUrl\":null,\"url\":null,\"abstract\":\"<p>Fuel economy in boilers is an urgent concern. Coal combustion with fuel oil is currently employed for that purpose, but this approach impairs electricity generation and releases oxides of sulfur and nitrogen into the environment. An alternative is oil-free combustion with plasma activation of the coal. Preliminary plasma activation results in more efficient combustion in the absence of fuel oil. The effectiveness of this technology is confirmed by familiar methods: engineering analysis, economic assessment, elaboration of a theory, experimental testing, and formulation of recommendations for optimizing the technology. The influence of plasma activation on the coal combustion is studied. The resulting technology for thermal preparation and combustion of coal in a cyclone furnace is an alternative to combustion with fuel oil in industrial boilers. The design of the system for regulating combustion with partial gasification of the working fuel is improved. Using this technology, it proves possible to use low-grade coal as the fuel. The emission of nitrogen oxides is decreased, and boiler performance is improved. Oil-free fuel combustion in a cyclone furnace is promising for use in power generation. It is shown that coal combustion with chemical activation or high-temperature plasma activation may be used in modernizing or constructing thermal power stations.</p>\",\"PeriodicalId\":519,\"journal\":{\"name\":\"Coke and Chemistry\",\"volume\":\"68 2\",\"pages\":\"121 - 125\"},\"PeriodicalIF\":0.5000,\"publicationDate\":\"2025-06-01\",\"publicationTypes\":\"Journal Article\",\"fieldsOfStudy\":null,\"isOpenAccess\":false,\"openAccessPdf\":\"\",\"citationCount\":\"0\",\"resultStr\":null,\"platform\":\"Semanticscholar\",\"paperid\":null,\"PeriodicalName\":\"Coke and Chemistry\",\"FirstCategoryId\":\"1085\",\"ListUrlMain\":\"https://link.springer.com/article/10.3103/S1068364X25600265\",\"RegionNum\":0,\"RegionCategory\":null,\"ArticlePicture\":[],\"TitleCN\":null,\"AbstractTextCN\":null,\"PMCID\":null,\"EPubDate\":\"\",\"PubModel\":\"\",\"JCR\":\"Q4\",\"JCRName\":\"ENGINEERING, CHEMICAL\",\"Score\":null,\"Total\":0}","platform":"Semanticscholar","paperid":null,"PeriodicalName":"Coke and Chemistry","FirstCategoryId":"1085","ListUrlMain":"https://link.springer.com/article/10.3103/S1068364X25600265","RegionNum":0,"RegionCategory":null,"ArticlePicture":[],"TitleCN":null,"AbstractTextCN":null,"PMCID":null,"EPubDate":"","PubModel":"","JCR":"Q4","JCRName":"ENGINEERING, CHEMICAL","Score":null,"Total":0}
引用次数: 0

摘要

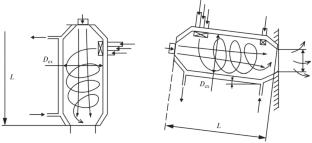
锅炉的燃油经济性是一个迫切需要关注的问题。目前使用的方法是用煤燃烧燃料油,但这种方法会损害发电,并向环境中释放硫和氮的氧化物。另一种选择是用等离子体活化煤的无油燃烧。在没有燃料油的情况下,初步的等离子体激活可以提高燃烧效率。该技术的有效性通过熟悉的方法得到证实:工程分析、经济评估、理论阐述、实验测试和优化技术的建议。研究了等离子体活化对煤燃烧的影响。由此产生的在旋风炉中热制备和燃烧煤的技术是工业锅炉中燃料油燃烧的替代技术。对工作燃料部分气化调节燃烧系统的设计进行了改进。利用这一技术,证明使用低品位煤作为燃料是可能的。减少了氮氧化物的排放,提高了锅炉的性能。无油燃料在旋风炉中的燃烧在发电中具有广阔的应用前景。研究表明,煤的化学活化或高温等离子体活化可用于火力发电站的现代化或建设。
本文章由计算机程序翻译,如有差异,请以英文原文为准。

Oil-Free Combustion of Coal in a Cyclone Furnace

Oil-Free Combustion of Coal in a Cyclone Furnace

Fuel economy in boilers is an urgent concern. Coal combustion with fuel oil is currently employed for that purpose, but this approach impairs electricity generation and releases oxides of sulfur and nitrogen into the environment. An alternative is oil-free combustion with plasma activation of the coal. Preliminary plasma activation results in more efficient combustion in the absence of fuel oil. The effectiveness of this technology is confirmed by familiar methods: engineering analysis, economic assessment, elaboration of a theory, experimental testing, and formulation of recommendations for optimizing the technology. The influence of plasma activation on the coal combustion is studied. The resulting technology for thermal preparation and combustion of coal in a cyclone furnace is an alternative to combustion with fuel oil in industrial boilers. The design of the system for regulating combustion with partial gasification of the working fuel is improved. Using this technology, it proves possible to use low-grade coal as the fuel. The emission of nitrogen oxides is decreased, and boiler performance is improved. Oil-free fuel combustion in a cyclone furnace is promising for use in power generation. It is shown that coal combustion with chemical activation or high-temperature plasma activation may be used in modernizing or constructing thermal power stations.

求助全文
通过发布文献求助,成功后即可免费获取论文全文。 去求助
来源期刊
Coke and Chemistry
Coke and Chemistry ENGINEERING, CHEMICAL-
CiteScore
0.70
自引率
50.00%
发文量
36
期刊介绍: The journal publishes scientific developments and applications in the field of coal beneficiation and preparation for coking, coking processes, design of coking ovens and equipment, by-product recovery, automation of technological processes, ecology and economics. It also presents indispensable information on the scientific events devoted to thermal rectification, use of smokeless coal as an energy source, and manufacture of different liquid and solid chemical products.
×
引用
GB/T 7714-2015
复制
MLA
复制
APA
复制
导出至
BibTeX EndNote RefMan NoteFirst NoteExpress
×
提示
您的信息不完整,为了账户安全,请先补充。
现在去补充
×
提示
您因"违规操作"
具体请查看互助需知
我知道了
×
提示
确定
请完成安全验证×
copy
已复制链接
快去分享给好友吧!
我知道了
右上角分享
点击右上角分享
0
联系我们:info@booksci.cn Book学术提供免费学术资源搜索服务,方便国内外学者检索中英文文献。致力于提供最便捷和优质的服务体验。 Copyright © 2023 布克学术 All rights reserved.
京ICP备2023020795号-1
ghs 京公网安备 11010802042870号
Book学术文献互助
Book学术文献互助群
群 号:604180095
Book学术官方微信