确定意大利甲状腺和黑色素瘤癌症患者的医疗保健服务的间接方法:Epicost-2项目。

IF 3.1 4区 医学 Q3 ONCOLOGY
Tumori Pub Date : 2025-10-01 Epub Date: 2025-09-04 DOI:10.1177/03008916251353109
Sandra Mallone, Andrea Tavilla, Tania Lopez, Daniela Pierannunzio, Luigino Dal Maso, Stefano Guzzinati, Ugo Fedeli, Alberto Gagliani, Alessandra Buja, Manuel Zorzi, Mario Fusco, Federica Toffolutti, Silvia Francisci
{"title":"确定意大利甲状腺和黑色素瘤癌症患者的医疗保健服务的间接方法:Epicost-2项目。","authors":"Sandra Mallone, Andrea Tavilla, Tania Lopez, Daniela Pierannunzio, Luigino Dal Maso, Stefano Guzzinati, Ugo Fedeli, Alberto Gagliani, Alessandra Buja, Manuel Zorzi, Mario Fusco, Federica Toffolutti, Silvia Francisci","doi":"10.1177/03008916251353109","DOIUrl":null,"url":null,"abstract":"<p><strong>Introduction: </strong>An indirect approach was applied to the case-study of thyroid cancer (TC) and melanoma of the skin (MS) in Italy to identify health services (HS) for cancer patients and to enable cost estimation.</p><p><strong>Materials and methods: </strong>Within the Epicost-2 project, a self-controlled crossover design analysed TC and MS 2018 prevalent cases from Italian cancer registries. Controls (1:1) were matched to cases 18-6 months prior to diagnosis; increases between cases and controls in potentially cancer-related HS claims (P⩽5%) were identified.</p><p><strong>Validation: </strong>Oncology and clinical experts validated cancer-related HS lists using statistical, clinical, and economic criteria.</p><p><strong>Results: </strong>The approach identified 202 and 333 cancer-related HS codes for TC and MS, respectively, aligned with clinical pathways.</p><p><strong>Discussion: </strong>The indirect approach reduced validation workload by 75% versus direct one.</p><p><strong>Conclusion: </strong>The approach identifies the costs of cancer care that could also be reproduced in other countries with consistent results, and the approach applied to other cancers.</p>","PeriodicalId":23349,"journal":{"name":"Tumori","volume":" ","pages":"400-412"},"PeriodicalIF":3.1000,"publicationDate":"2025-10-01","publicationTypes":"Journal Article","fieldsOfStudy":null,"isOpenAccess":false,"openAccessPdf":"https://www.ncbi.nlm.nih.gov/pmc/articles/PMC12476483/pdf/","citationCount":"0","resultStr":"{\"title\":\"An indirect approach to identify the healthcare services for thyroid and melanoma cancer patients in Italy: Epicost-2 project.\",\"authors\":\"Sandra Mallone, Andrea Tavilla, Tania Lopez, Daniela Pierannunzio, Luigino Dal Maso, Stefano Guzzinati, Ugo Fedeli, Alberto Gagliani, Alessandra Buja, Manuel Zorzi, Mario Fusco, Federica Toffolutti, Silvia Francisci\",\"doi\":\"10.1177/03008916251353109\",\"DOIUrl\":null,\"url\":null,\"abstract\":\"<p><strong>Introduction: </strong>An indirect approach was applied to the case-study of thyroid cancer (TC) and melanoma of the skin (MS) in Italy to identify health services (HS) for cancer patients and to enable cost estimation.</p><p><strong>Materials and methods: </strong>Within the Epicost-2 project, a self-controlled crossover design analysed TC and MS 2018 prevalent cases from Italian cancer registries. Controls (1:1) were matched to cases 18-6 months prior to diagnosis; increases between cases and controls in potentially cancer-related HS claims (P⩽5%) were identified.</p><p><strong>Validation: </strong>Oncology and clinical experts validated cancer-related HS lists using statistical, clinical, and economic criteria.</p><p><strong>Results: </strong>The approach identified 202 and 333 cancer-related HS codes for TC and MS, respectively, aligned with clinical pathways.</p><p><strong>Discussion: </strong>The indirect approach reduced validation workload by 75% versus direct one.</p><p><strong>Conclusion: </strong>The approach identifies the costs of cancer care that could also be reproduced in other countries with consistent results, and the approach applied to other cancers.</p>\",\"PeriodicalId\":23349,\"journal\":{\"name\":\"Tumori\",\"volume\":\" \",\"pages\":\"400-412\"},\"PeriodicalIF\":3.1000,\"publicationDate\":\"2025-10-01\",\"publicationTypes\":\"Journal Article\",\"fieldsOfStudy\":null,\"isOpenAccess\":false,\"openAccessPdf\":\"https://www.ncbi.nlm.nih.gov/pmc/articles/PMC12476483/pdf/\",\"citationCount\":\"0\",\"resultStr\":null,\"platform\":\"Semanticscholar\",\"paperid\":null,\"PeriodicalName\":\"Tumori\",\"FirstCategoryId\":\"3\",\"ListUrlMain\":\"https://doi.org/10.1177/03008916251353109\",\"RegionNum\":4,\"RegionCategory\":\"医学\",\"ArticlePicture\":[],\"TitleCN\":null,\"AbstractTextCN\":null,\"PMCID\":null,\"EPubDate\":\"2025/9/4 0:00:00\",\"PubModel\":\"Epub\",\"JCR\":\"Q3\",\"JCRName\":\"ONCOLOGY\",\"Score\":null,\"Total\":0}","platform":"Semanticscholar","paperid":null,"PeriodicalName":"Tumori","FirstCategoryId":"3","ListUrlMain":"https://doi.org/10.1177/03008916251353109","RegionNum":4,"RegionCategory":"医学","ArticlePicture":[],"TitleCN":null,"AbstractTextCN":null,"PMCID":null,"EPubDate":"2025/9/4 0:00:00","PubModel":"Epub","JCR":"Q3","JCRName":"ONCOLOGY","Score":null,"Total":0}
引用次数: 0

摘要

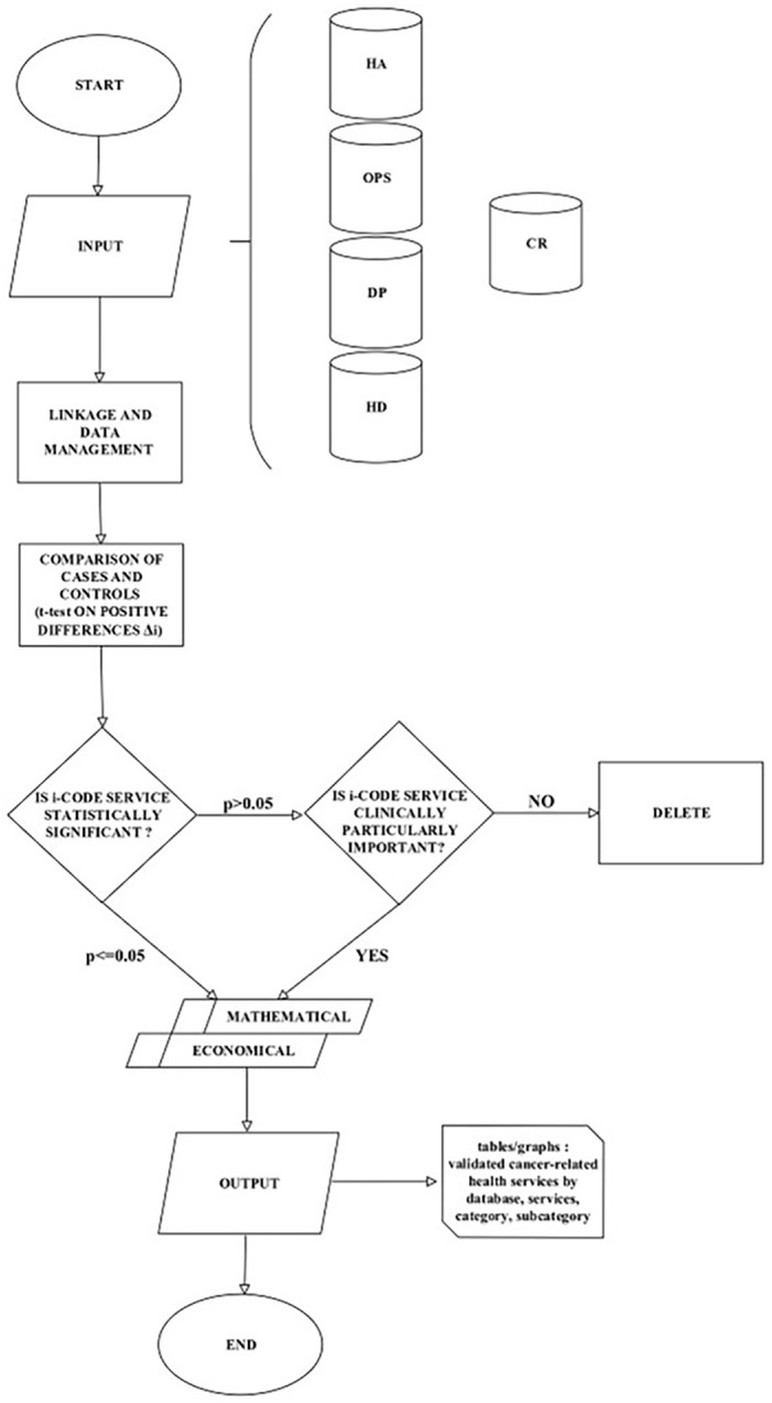
简介:一种间接方法应用于意大利甲状腺癌(TC)和皮肤黑色素瘤(MS)的病例研究,以确定癌症患者的卫生服务(HS)并进行成本估算。材料和方法:在Epicost-2项目中,一个自我控制的交叉设计分析了意大利癌症登记处2018年的TC和MS流行病例。对照(1:1)与诊断前18-6个月的病例匹配;发现病例和对照组之间潜在癌症相关的HS索赔增加(P≤5%)。验证:肿瘤学和临床专家使用统计、临床和经济标准验证了与癌症相关的HS清单。结果:该方法分别鉴定出TC和MS的202个和333个癌症相关HS编码,与临床路径一致。讨论:与直接方法相比,间接方法减少了75%的验证工作量。结论:该方法确定了癌症治疗的成本,也可以在其他国家复制,结果一致,并且该方法适用于其他癌症。
本文章由计算机程序翻译,如有差异,请以英文原文为准。

An indirect approach to identify the healthcare services for thyroid and melanoma cancer patients in Italy: Epicost-2 project.

An indirect approach to identify the healthcare services for thyroid and melanoma cancer patients in Italy: Epicost-2 project.

An indirect approach to identify the healthcare services for thyroid and melanoma cancer patients in Italy: Epicost-2 project.

An indirect approach to identify the healthcare services for thyroid and melanoma cancer patients in Italy: Epicost-2 project.

Introduction: An indirect approach was applied to the case-study of thyroid cancer (TC) and melanoma of the skin (MS) in Italy to identify health services (HS) for cancer patients and to enable cost estimation.

Materials and methods: Within the Epicost-2 project, a self-controlled crossover design analysed TC and MS 2018 prevalent cases from Italian cancer registries. Controls (1:1) were matched to cases 18-6 months prior to diagnosis; increases between cases and controls in potentially cancer-related HS claims (P⩽5%) were identified.

Validation: Oncology and clinical experts validated cancer-related HS lists using statistical, clinical, and economic criteria.

Results: The approach identified 202 and 333 cancer-related HS codes for TC and MS, respectively, aligned with clinical pathways.

Discussion: The indirect approach reduced validation workload by 75% versus direct one.

Conclusion: The approach identifies the costs of cancer care that could also be reproduced in other countries with consistent results, and the approach applied to other cancers.

求助全文
通过发布文献求助,成功后即可免费获取论文全文。 去求助
来源期刊
Tumori
Tumori 医学-肿瘤学
CiteScore
3.50
自引率
0.00%
发文量
58
审稿时长
6 months
期刊介绍: Tumori Journal covers all aspects of cancer science and clinical practice with a strong focus on prevention, translational medicine and clinically relevant reports. We invite the publication of randomized trials and reports on large, consecutive patient series that investigate the real impact of new techniques, drugs and devices inday-to-day clinical practice.
×
引用
GB/T 7714-2015
复制
MLA
复制
APA
复制
导出至
BibTeX EndNote RefMan NoteFirst NoteExpress
×
提示
您的信息不完整,为了账户安全,请先补充。
现在去补充
×
提示
您因"违规操作"
具体请查看互助需知
我知道了
×
提示
确定
请完成安全验证×
copy
已复制链接
快去分享给好友吧!
我知道了
右上角分享
点击右上角分享
0
联系我们:info@booksci.cn Book学术提供免费学术资源搜索服务,方便国内外学者检索中英文文献。致力于提供最便捷和优质的服务体验。 Copyright © 2023 布克学术 All rights reserved.
京ICP备2023020795号-1
ghs 京公网安备 11010802042870号
Book学术文献互助
Book学术文献互助群
群 号:604180095
Book学术官方微信