基于常规电子健康记录的无痴呆手术患者谵妄预测模型的开发和验证:回顾性病例对照研究。

Emma Holler, Christina Ludema, Zina Ben Miled, Molly Rosenberg, Corey Kalbaugh, Malaz Boustani, Sanjay Mohanty
{"title":"基于常规电子健康记录的无痴呆手术患者谵妄预测模型的开发和验证:回顾性病例对照研究。","authors":"Emma Holler, Christina Ludema, Zina Ben Miled, Molly Rosenberg, Corey Kalbaugh, Malaz Boustani, Sanjay Mohanty","doi":"10.2196/59422","DOIUrl":null,"url":null,"abstract":"<p><strong>Background: </strong>Postoperative delirium (POD) is a common complication after major surgery and is associated with poor outcomes in older adults. Early identification of patients at high risk of POD can enable targeted prevention efforts. However, existing POD prediction models require inpatient data collected during the hospital stay, which delays predictions and limits scalability.</p><p><strong>Objective: </strong>This study aimed to develop and externally validate a machine learning-based prediction model for POD using routine electronic health record (EHR) data.</p><p><strong>Methods: </strong>We identified all surgical encounters from 2014 to 2021 for patients aged 50 years and older who underwent an operation requiring general anesthesia, with a length of stay of at least 1 day at 3 Indiana hospitals. Patients with preexisting dementia or mild cognitive impairment were excluded. POD was identified using Confusion Assessment Method records and delirium International Classification of Diseases (ICD) codes. Controls without delirium or nurse-documented confusion were matched to cases by age, sex, race, and year of admission. We trained logistic regression, random forest, extreme gradient boosting (XGB), and neural network models to predict POD using 143 features derived from routine EHR data available at the time of hospital admission. Separate models were developed for each hospital using surveillance periods of 3 months, 6 months, and 1 year before admission. Model performance was evaluated using the area under the receiver operating characteristic curve (AUROC). Each model was internally validated using holdout data and externally validated using data from the other 2 hospitals. Calibration was assessed using calibration curves.</p><p><strong>Results: </strong>The study cohort included 7167 delirium cases and 7167 matched controls. XGB outperformed all other classifiers. AUROCs were highest for XGB models trained on 12 months of preadmission data. The best-performing XGB model achieved a mean AUROC of 0.79 (SD 0.01) on the holdout set, which decreased to 0.69-0.74 (SD 0.02) when externally validated on data from other hospitals.</p><p><strong>Conclusions: </strong>Our routine EHR-based POD prediction models demonstrated good predictive ability using a limited set of preadmission and surgical variables, though their generalizability was limited. The proposed models could be used as a scalable, automated screening tool to identify patients at high risk of POD at the time of hospital admission.</p>","PeriodicalId":73557,"journal":{"name":"JMIR perioperative medicine","volume":"8 ","pages":"e59422"},"PeriodicalIF":0.0000,"publicationDate":"2025-01-09","publicationTypes":"Journal Article","fieldsOfStudy":null,"isOpenAccess":false,"openAccessPdf":"https://www.ncbi.nlm.nih.gov/pmc/articles/PMC11757977/pdf/","citationCount":"0","resultStr":"{\"title\":\"Development and Validation of a Routine Electronic Health Record-Based Delirium Prediction Model for Surgical Patients Without Dementia: Retrospective Case-Control Study.\",\"authors\":\"Emma Holler, Christina Ludema, Zina Ben Miled, Molly Rosenberg, Corey Kalbaugh, Malaz Boustani, Sanjay Mohanty\",\"doi\":\"10.2196/59422\",\"DOIUrl\":null,\"url\":null,\"abstract\":\"<p><strong>Background: </strong>Postoperative delirium (POD) is a common complication after major surgery and is associated with poor outcomes in older adults. Early identification of patients at high risk of POD can enable targeted prevention efforts. However, existing POD prediction models require inpatient data collected during the hospital stay, which delays predictions and limits scalability.</p><p><strong>Objective: </strong>This study aimed to develop and externally validate a machine learning-based prediction model for POD using routine electronic health record (EHR) data.</p><p><strong>Methods: </strong>We identified all surgical encounters from 2014 to 2021 for patients aged 50 years and older who underwent an operation requiring general anesthesia, with a length of stay of at least 1 day at 3 Indiana hospitals. Patients with preexisting dementia or mild cognitive impairment were excluded. POD was identified using Confusion Assessment Method records and delirium International Classification of Diseases (ICD) codes. Controls without delirium or nurse-documented confusion were matched to cases by age, sex, race, and year of admission. We trained logistic regression, random forest, extreme gradient boosting (XGB), and neural network models to predict POD using 143 features derived from routine EHR data available at the time of hospital admission. Separate models were developed for each hospital using surveillance periods of 3 months, 6 months, and 1 year before admission. Model performance was evaluated using the area under the receiver operating characteristic curve (AUROC). Each model was internally validated using holdout data and externally validated using data from the other 2 hospitals. Calibration was assessed using calibration curves.</p><p><strong>Results: </strong>The study cohort included 7167 delirium cases and 7167 matched controls. XGB outperformed all other classifiers. AUROCs were highest for XGB models trained on 12 months of preadmission data. The best-performing XGB model achieved a mean AUROC of 0.79 (SD 0.01) on the holdout set, which decreased to 0.69-0.74 (SD 0.02) when externally validated on data from other hospitals.</p><p><strong>Conclusions: </strong>Our routine EHR-based POD prediction models demonstrated good predictive ability using a limited set of preadmission and surgical variables, though their generalizability was limited. The proposed models could be used as a scalable, automated screening tool to identify patients at high risk of POD at the time of hospital admission.</p>\",\"PeriodicalId\":73557,\"journal\":{\"name\":\"JMIR perioperative medicine\",\"volume\":\"8 \",\"pages\":\"e59422\"},\"PeriodicalIF\":0.0000,\"publicationDate\":\"2025-01-09\",\"publicationTypes\":\"Journal Article\",\"fieldsOfStudy\":null,\"isOpenAccess\":false,\"openAccessPdf\":\"https://www.ncbi.nlm.nih.gov/pmc/articles/PMC11757977/pdf/\",\"citationCount\":\"0\",\"resultStr\":null,\"platform\":\"Semanticscholar\",\"paperid\":null,\"PeriodicalName\":\"JMIR perioperative medicine\",\"FirstCategoryId\":\"1085\",\"ListUrlMain\":\"https://doi.org/10.2196/59422\",\"RegionNum\":0,\"RegionCategory\":null,\"ArticlePicture\":[],\"TitleCN\":null,\"AbstractTextCN\":null,\"PMCID\":null,\"EPubDate\":\"\",\"PubModel\":\"\",\"JCR\":\"\",\"JCRName\":\"\",\"Score\":null,\"Total\":0}","platform":"Semanticscholar","paperid":null,"PeriodicalName":"JMIR perioperative medicine","FirstCategoryId":"1085","ListUrlMain":"https://doi.org/10.2196/59422","RegionNum":0,"RegionCategory":null,"ArticlePicture":[],"TitleCN":null,"AbstractTextCN":null,"PMCID":null,"EPubDate":"","PubModel":"","JCR":"","JCRName":"","Score":null,"Total":0}
引用次数: 0

摘要

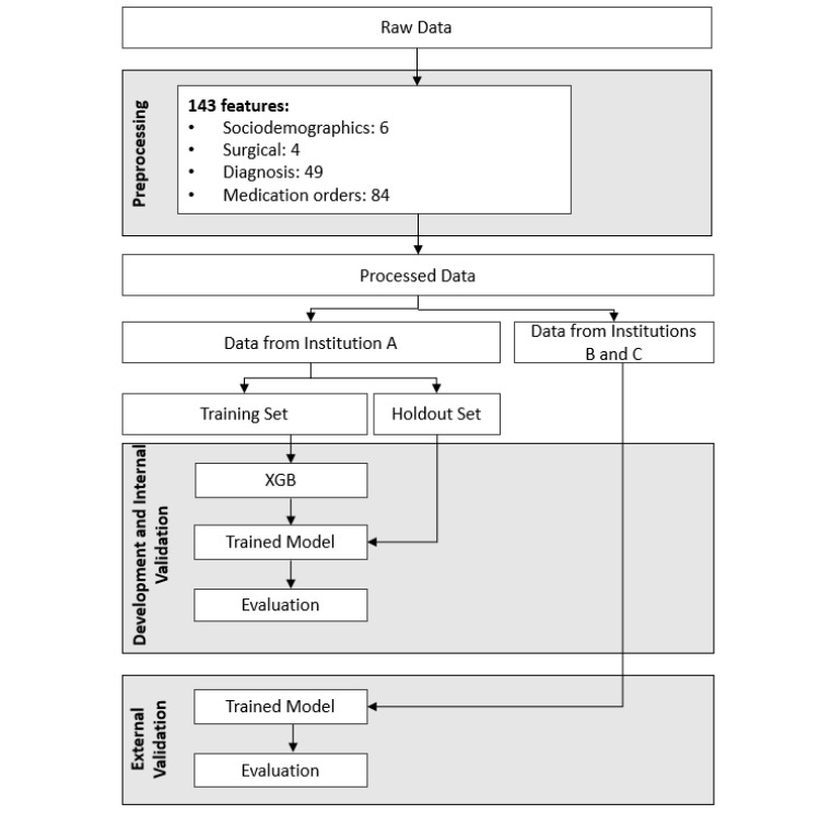
背景:术后谵妄(POD)是老年人大手术后常见的并发症,与不良预后相关。早期识别出POD高危患者可以进行有针对性的预防工作。然而,现有的POD预测模型需要住院期间收集的住院患者数据,这延迟了预测并限制了可扩展性。目的:本研究旨在利用常规电子健康记录(EHR)数据开发并外部验证基于机器学习的POD预测模型。方法:我们收集了2014年至2021年期间在印第安纳州3家医院接受全麻手术且住院时间至少为1天的50岁及以上患者的所有手术经历。既往存在痴呆或轻度认知障碍的患者被排除在外。使用混淆评估法记录和谵妄国际疾病分类(ICD)代码对POD进行鉴定。没有谵妄或护士记录的精神错乱的对照组按年龄、性别、种族和入院年份与病例匹配。我们训练了逻辑回归、随机森林、极端梯度增强(XGB)和神经网络模型,利用入院时可获得的常规电子病历数据中的143个特征来预测POD。采用入院前3个月、6个月和1年的监测期,为每家医院开发了单独的模型。采用受试者工作特征曲线下面积(AUROC)评价模型性能。每个模型使用保留数据进行内部验证,使用其他2家医院的数据进行外部验证。使用校准曲线评估校准。结果:研究队列包括7167例谵妄病例和7167例匹配对照。XGB优于所有其他分类器。接受12个月入院前数据训练的XGB模型的auroc最高。表现最好的XGB模型在保留集上的平均AUROC为0.79 (SD 0.01),在其他医院的数据上进行外部验证时,平均AUROC降至0.69-0.74 (SD 0.02)。结论:我们的常规基于ehr的POD预测模型使用有限的入院前和手术变量显示出良好的预测能力,尽管其通用性有限。所提出的模型可作为一种可扩展的自动化筛选工具,用于在入院时识别POD高风险患者。
本文章由计算机程序翻译,如有差异,请以英文原文为准。

Development and Validation of a Routine Electronic Health Record-Based Delirium Prediction Model for Surgical Patients Without Dementia: Retrospective Case-Control Study.

Development and Validation of a Routine Electronic Health Record-Based Delirium Prediction Model for Surgical Patients Without Dementia: Retrospective Case-Control Study.

Development and Validation of a Routine Electronic Health Record-Based Delirium Prediction Model for Surgical Patients Without Dementia: Retrospective Case-Control Study.

Background: Postoperative delirium (POD) is a common complication after major surgery and is associated with poor outcomes in older adults. Early identification of patients at high risk of POD can enable targeted prevention efforts. However, existing POD prediction models require inpatient data collected during the hospital stay, which delays predictions and limits scalability.

Objective: This study aimed to develop and externally validate a machine learning-based prediction model for POD using routine electronic health record (EHR) data.

Methods: We identified all surgical encounters from 2014 to 2021 for patients aged 50 years and older who underwent an operation requiring general anesthesia, with a length of stay of at least 1 day at 3 Indiana hospitals. Patients with preexisting dementia or mild cognitive impairment were excluded. POD was identified using Confusion Assessment Method records and delirium International Classification of Diseases (ICD) codes. Controls without delirium or nurse-documented confusion were matched to cases by age, sex, race, and year of admission. We trained logistic regression, random forest, extreme gradient boosting (XGB), and neural network models to predict POD using 143 features derived from routine EHR data available at the time of hospital admission. Separate models were developed for each hospital using surveillance periods of 3 months, 6 months, and 1 year before admission. Model performance was evaluated using the area under the receiver operating characteristic curve (AUROC). Each model was internally validated using holdout data and externally validated using data from the other 2 hospitals. Calibration was assessed using calibration curves.

Results: The study cohort included 7167 delirium cases and 7167 matched controls. XGB outperformed all other classifiers. AUROCs were highest for XGB models trained on 12 months of preadmission data. The best-performing XGB model achieved a mean AUROC of 0.79 (SD 0.01) on the holdout set, which decreased to 0.69-0.74 (SD 0.02) when externally validated on data from other hospitals.

Conclusions: Our routine EHR-based POD prediction models demonstrated good predictive ability using a limited set of preadmission and surgical variables, though their generalizability was limited. The proposed models could be used as a scalable, automated screening tool to identify patients at high risk of POD at the time of hospital admission.

求助全文
通过发布文献求助,成功后即可免费获取论文全文。 去求助
来源期刊
CiteScore
0.50
自引率
0.00%
发文量
0
审稿时长
12 weeks
×
引用
GB/T 7714-2015
复制
MLA
复制
APA
复制
导出至
BibTeX EndNote RefMan NoteFirst NoteExpress
×
提示
您的信息不完整,为了账户安全,请先补充。
现在去补充
×
提示
您因"违规操作"
具体请查看互助需知
我知道了
×
提示
确定
请完成安全验证×
copy
已复制链接
快去分享给好友吧!
我知道了
右上角分享
点击右上角分享
0
联系我们:info@booksci.cn Book学术提供免费学术资源搜索服务,方便国内外学者检索中英文文献。致力于提供最便捷和优质的服务体验。 Copyright © 2023 布克学术 All rights reserved.
京ICP备2023020795号-1
ghs 京公网安备 11010802042870号
Book学术文献互助
Book学术文献互助群
群 号:604180095
Book学术官方微信