A full automatic device for sampling small solution volumes in photometric titration procedure based on multicommuted flow system.

Sivanildo S Borges, Gláucia P Vieira, Boaventura F Reis
{"title":"A full automatic device for sampling small solution volumes in photometric titration procedure based on multicommuted flow system.","authors":"Sivanildo S Borges,&nbsp;Gláucia P Vieira,&nbsp;Boaventura F Reis","doi":"10.1155/2007/46219","DOIUrl":null,"url":null,"abstract":"<p><p>In this work, an automatic device to deliver titrant solution into a titration chamber with the ability to determine the dispensed volume of solution, with good precision independent of both elapsed time and flow rate, is proposed. A glass tube maintained at the vertical position was employed as a container for the titrant solution. Electronic devices were coupled to the glass tube in order to control its filling with titrant solution, as well as the stepwise solution delivering into the titration chamber. The detection of the titration end point was performed employing a photometer designed using a green LED (lambda=545 nm) and a phototransistor. The titration flow system comprised three-way solenoid valves, which were assembled to allow that the steps comprising the solution container loading and the titration run were carried out automatically. The device for the solution volume determination was designed employing an infrared LED (lambda=930 nm) and a photodiode. When solution volume delivered from proposed device was within the range of 5 to 105 mul, a linear relationship (R = 0.999) between the delivered volumes and the generated potential difference was achieved. The usefulness of the proposed device was proved performing photometric titration of hydrochloric acid solution with a standardized sodium hydroxide solution and using phenolphthalein as an external indicator. The achieved results presented relative standard deviation of 1.5%.</p>","PeriodicalId":15248,"journal":{"name":"Journal of Automated Methods & Management in Chemistry","volume":"2007 ","pages":"46219"},"PeriodicalIF":0.0000,"publicationDate":"2007-01-01","publicationTypes":"Journal Article","fieldsOfStudy":null,"isOpenAccess":false,"openAccessPdf":"https://sci-hub-pdf.com/10.1155/2007/46219","citationCount":"2","resultStr":null,"platform":"Semanticscholar","paperid":null,"PeriodicalName":"Journal of Automated Methods & Management in Chemistry","FirstCategoryId":"1085","ListUrlMain":"https://doi.org/10.1155/2007/46219","RegionNum":0,"RegionCategory":null,"ArticlePicture":[],"TitleCN":null,"AbstractTextCN":null,"PMCID":null,"EPubDate":"","PubModel":"","JCR":"","JCRName":"","Score":null,"Total":0}
引用次数: 2

Abstract

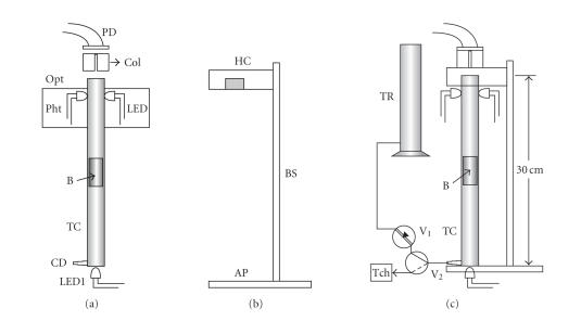
In this work, an automatic device to deliver titrant solution into a titration chamber with the ability to determine the dispensed volume of solution, with good precision independent of both elapsed time and flow rate, is proposed. A glass tube maintained at the vertical position was employed as a container for the titrant solution. Electronic devices were coupled to the glass tube in order to control its filling with titrant solution, as well as the stepwise solution delivering into the titration chamber. The detection of the titration end point was performed employing a photometer designed using a green LED (lambda=545 nm) and a phototransistor. The titration flow system comprised three-way solenoid valves, which were assembled to allow that the steps comprising the solution container loading and the titration run were carried out automatically. The device for the solution volume determination was designed employing an infrared LED (lambda=930 nm) and a photodiode. When solution volume delivered from proposed device was within the range of 5 to 105 mul, a linear relationship (R = 0.999) between the delivered volumes and the generated potential difference was achieved. The usefulness of the proposed device was proved performing photometric titration of hydrochloric acid solution with a standardized sodium hydroxide solution and using phenolphthalein as an external indicator. The achieved results presented relative standard deviation of 1.5%.

Abstract Image

Abstract Image

Abstract Image

一种基于多换向流系统的光度滴定过程中小体积溶液取样的全自动装置。
在这项工作中,提出了一种自动装置,将滴定溶液输送到滴定室,具有确定溶液分配体积的能力,具有良好的精度,与经过的时间和流速无关。放置在垂直位置的玻璃管作为滴定液的容器。电子装置被耦合到玻璃管上,以控制滴定溶液的填充,以及逐步进入滴定室的溶液。采用绿色LED (λ =545 nm)和光电晶体管设计的光度计对滴定终点进行检测。滴定流系统由三通电磁阀组成,这些阀被组装起来,以允许包括溶液容器装载和滴定运行的步骤自动进行。采用红外LED (λ =930 nm)和光电二极管设计了溶液体积测定装置。当装置输送的溶液体积在5 ~ 105 μ l范围内时,输送的溶液体积与产生的电位差呈线性关系(R = 0.999)。用标准的氢氧化钠溶液对盐酸溶液进行光度滴定,并使用酚酞作为外部指示剂,证明了该装置的实用性。所得结果的相对标准偏差为1.5%。
本文章由计算机程序翻译,如有差异,请以英文原文为准。
求助全文
约1分钟内获得全文 求助全文
来源期刊
自引率
0.00%
发文量
0
审稿时长
>12 weeks
×
引用
GB/T 7714-2015
复制
MLA
复制
APA
复制
导出至
BibTeX EndNote RefMan NoteFirst NoteExpress
×
提示
您的信息不完整,为了账户安全,请先补充。
现在去补充
×
提示
您因"违规操作"
具体请查看互助需知
我知道了
×
提示
确定
请完成安全验证×
copy
已复制链接
快去分享给好友吧!
我知道了
右上角分享
点击右上角分享
0
联系我们:info@booksci.cn Book学术提供免费学术资源搜索服务,方便国内外学者检索中英文文献。致力于提供最便捷和优质的服务体验。 Copyright © 2023 布克学术 All rights reserved.
京ICP备2023020795号-1
ghs 京公网安备 11010802042870号
Book学术文献互助
Book学术文献互助群
群 号:604180095
Book学术官方微信