The Carotid Siphon as a Pulsatility Modulator for Brain Protection: Role of Arterial Calcification Formation.

IF 3 3区 医学 Q2 HEALTH CARE SCIENCES & SERVICES
Pim A de Jong, Daniel Bos, Huiberdina L Koek, Pieter T Deckers, Netanja I Harlianto, Ynte M Ruigrok, Wilko Spiering, Jaco Zwanenburg, Willem P Th M Mali
{"title":"The Carotid Siphon as a Pulsatility Modulator for Brain Protection: Role of Arterial Calcification Formation.","authors":"Pim A de Jong, Daniel Bos, Huiberdina L Koek, Pieter T Deckers, Netanja I Harlianto, Ynte M Ruigrok, Wilko Spiering, Jaco Zwanenburg, Willem P Th M Mali","doi":"10.3390/jpm15080356","DOIUrl":null,"url":null,"abstract":"<p><p>A healthy vasculature with well-regulated perfusion and pulsatility is essential for the brain. One vascular structure that has received little attention is the carotid siphon. The proximal portion of the siphon is stiff due to the narrow location in the skull base, whilst the distal portion is highly flexible. This flexible part in combination with the specific curves lead to lower pulsatility at the cost of energy deposition in the arterial wall. This deposited energy contributes to damage and calcification. Severe siphon calcification stiffens the distal part of the siphon, leading to less damping of the pulsatility. Increased blood flow pulsatility is a possible cause of stroke and cognitive disorders. In this review, based on comprehensive multimodality imaging, we first describe the anatomy and physiology of the carotid siphon. Subsequently, we review the in vivo imaging data, which indeed suggest that the siphon attenuates pulsatility. Finally, the data as available in the literature are shown to provide convincing evidence that severe siphon calcifications and the calcification pattern are linked to incident stroke and dementia. Interventional studies are required to test whether this association is causal and how an assessment of pulsatility and the siphon calcification pattern can improve personalized medicine, working to prevent and treat brain disease.</p>","PeriodicalId":16722,"journal":{"name":"Journal of Personalized Medicine","volume":"15 8","pages":""},"PeriodicalIF":3.0000,"publicationDate":"2025-08-04","publicationTypes":"Journal Article","fieldsOfStudy":null,"isOpenAccess":false,"openAccessPdf":"https://www.ncbi.nlm.nih.gov/pmc/articles/PMC12387167/pdf/","citationCount":"0","resultStr":null,"platform":"Semanticscholar","paperid":null,"PeriodicalName":"Journal of Personalized Medicine","FirstCategoryId":"3","ListUrlMain":"https://doi.org/10.3390/jpm15080356","RegionNum":3,"RegionCategory":"医学","ArticlePicture":[],"TitleCN":null,"AbstractTextCN":null,"PMCID":null,"EPubDate":"","PubModel":"","JCR":"Q2","JCRName":"HEALTH CARE SCIENCES & SERVICES","Score":null,"Total":0}
引用次数: 0

Abstract

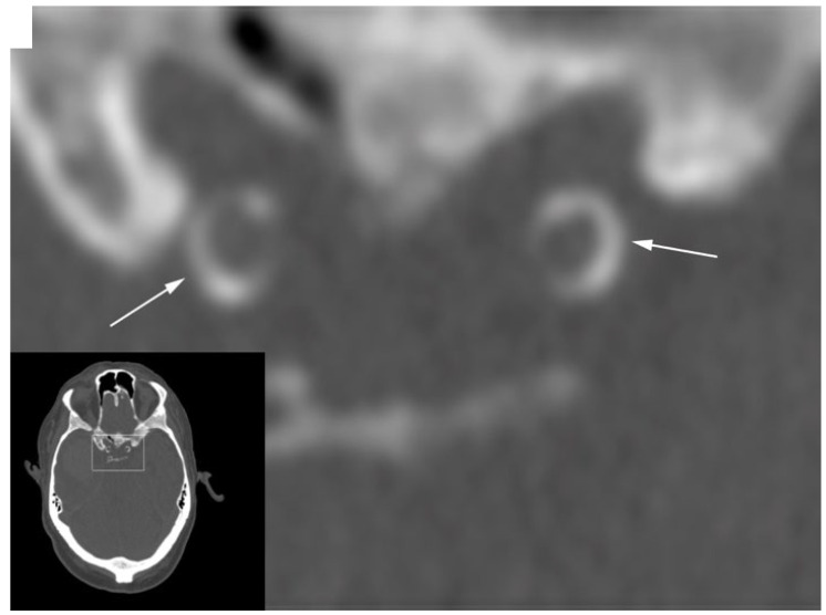
A healthy vasculature with well-regulated perfusion and pulsatility is essential for the brain. One vascular structure that has received little attention is the carotid siphon. The proximal portion of the siphon is stiff due to the narrow location in the skull base, whilst the distal portion is highly flexible. This flexible part in combination with the specific curves lead to lower pulsatility at the cost of energy deposition in the arterial wall. This deposited energy contributes to damage and calcification. Severe siphon calcification stiffens the distal part of the siphon, leading to less damping of the pulsatility. Increased blood flow pulsatility is a possible cause of stroke and cognitive disorders. In this review, based on comprehensive multimodality imaging, we first describe the anatomy and physiology of the carotid siphon. Subsequently, we review the in vivo imaging data, which indeed suggest that the siphon attenuates pulsatility. Finally, the data as available in the literature are shown to provide convincing evidence that severe siphon calcifications and the calcification pattern are linked to incident stroke and dementia. Interventional studies are required to test whether this association is causal and how an assessment of pulsatility and the siphon calcification pattern can improve personalized medicine, working to prevent and treat brain disease.

Abstract Image

Abstract Image

Abstract Image

颈动脉虹吸作为脑保护的搏动调节剂:动脉钙化形成的作用。
健康的血管系统和良好的灌注和搏动对大脑至关重要。颈动脉虹吸是一种很少被关注的血管结构。虹吸管的近端部分由于在颅底的狭窄位置而僵硬,而远端部分则高度灵活。这种灵活的部分与特定的曲线相结合,以能量沉积在动脉壁为代价,导致较低的脉搏。这种沉积的能量导致损伤和钙化。严重的虹吸管钙化使虹吸管的远端部分变硬,导致搏动的阻尼减少。血流量增加是中风和认知障碍的可能原因。在这篇综述中,基于综合多模态成像,我们首先描述颈动脉虹吸的解剖和生理。随后,我们回顾了体内成像数据,这些数据确实表明虹吸减弱了脉搏。最后,文献中的现有数据提供了令人信服的证据,证明严重的虹吸钙化和钙化模式与卒中和痴呆有关。需要进行介入性研究,以检验这种关联是否存在因果关系,以及对搏动和虹吸钙化模式的评估如何改善个性化医疗,以预防和治疗脑部疾病。
本文章由计算机程序翻译,如有差异,请以英文原文为准。
求助全文
约1分钟内获得全文 求助全文
来源期刊
Journal of Personalized Medicine
Journal of Personalized Medicine Medicine-Medicine (miscellaneous)
CiteScore
4.10
自引率
0.00%
发文量
1878
审稿时长
11 weeks
期刊介绍: Journal of Personalized Medicine (JPM; ISSN 2075-4426) is an international, open access journal aimed at bringing all aspects of personalized medicine to one platform. JPM publishes cutting edge, innovative preclinical and translational scientific research and technologies related to personalized medicine (e.g., pharmacogenomics/proteomics, systems biology). JPM recognizes that personalized medicine—the assessment of genetic, environmental and host factors that cause variability of individuals—is a challenging, transdisciplinary topic that requires discussions from a range of experts. For a comprehensive perspective of personalized medicine, JPM aims to integrate expertise from the molecular and translational sciences, therapeutics and diagnostics, as well as discussions of regulatory, social, ethical and policy aspects. We provide a forum to bring together academic and clinical researchers, biotechnology, diagnostic and pharmaceutical companies, health professionals, regulatory and ethical experts, and government and regulatory authorities.
×
引用
GB/T 7714-2015
复制
MLA
复制
APA
复制
导出至
BibTeX EndNote RefMan NoteFirst NoteExpress
×
提示
您的信息不完整,为了账户安全,请先补充。
现在去补充
×
提示
您因"违规操作"
具体请查看互助需知
我知道了
×
提示
确定
请完成安全验证×
copy
已复制链接
快去分享给好友吧!
我知道了
右上角分享
点击右上角分享
0
联系我们:info@booksci.cn Book学术提供免费学术资源搜索服务,方便国内外学者检索中英文文献。致力于提供最便捷和优质的服务体验。 Copyright © 2023 布克学术 All rights reserved.
京ICP备2023020795号-1
ghs 京公网安备 11010802042870号
Book学术文献互助
Book学术文献互助群
群 号:604180095
Book学术官方微信