Heat Transfer Increase Research According to Using Different Combined Jet Flow Channel Design and Nanofluids

IF 1.4 4区 工程技术 Q3 ENGINEERING, MECHANICAL
Y. Alnak
{"title":"Heat Transfer Increase Research According to Using Different Combined Jet Flow Channel Design and Nanofluids","authors":"Y. Alnak","doi":"10.1134/S1810232825010151","DOIUrl":null,"url":null,"abstract":"<p>This study focused on the numerical investigation of heat transfer from various shaped copper plate surfaces exposed to a constant heat flux of 1000 W/m<sup>2</sup>. The analysis employed a combination of cross-flow and impinging jet flows. The numerical simulations were carried out by solving the energy and Navier–Stokes equations using the Ansys–Fluent computer program with the <span>\\(k\\)</span>-<span>\\(\\varepsilon\\)</span> turbulence model. To guide the combined jet flow towards the heated surfaces in the channel, horizontal fins with 30° and 60° angles were placed in the channel. The channel height (<span>\\(H\\)</span>) was set at 4 times the diameter (<span>\\(D\\)</span>), and the fin distance from the jet inlet (<span>\\(N\\)</span>) was equal to <span>\\(D\\)</span>. Different fin lengths of <span>\\(D\\)</span>, <span>\\(1.166D\\)</span>, and <span>\\(1.333D\\)</span> (K) were utilized in the channels. The study considered three types of fluids: water, 2% CuO-Water, and 0.02% GO-Water nanofluids. The upper and lower surfaces of the channel and the fin were assumed to be adiabatic, and the Reynolds number of the flow ranged from 5000 to 15000. The results of this work were compared with experimental studies from the literature, and good agreement was found between them. Unlike previous studies, this research explored the effects of fin lengths and fin angles on heat transfer from differently shaped surfaces and the flow structures created by the fins in the channels, using GO-Water and CuO-Water nanofluids. The results were presented in terms of the mean Nusselt number variations for each model surface. Additionally, velocity and temperature contour distributions of the combined jet flow along the channel for CuO-Water nanofluid were analyzed. Performance Evaluation Coefficient (PEC) values, along with average Nusselt number (Nu<span>\\(_{m})\\)</span> and surface temperature (<span>\\(T_{m})\\)</span> values, were assessed at different Reynolds numbers for all three patterned surfaces in the channels. At Re = 5000 and <span>\\(K=D\\)</span>, there were significant increases in Nu<span>\\(_{m}\\)</span> values for cube, roofed, and square hollow model surfaces when using a 60° fin and GO-Water nanofluid compared to channels with water flow and no fins.</p>","PeriodicalId":627,"journal":{"name":"Journal of Engineering Thermophysics","volume":"34 1","pages":"180 - 207"},"PeriodicalIF":1.4000,"publicationDate":"2025-04-18","publicationTypes":"Journal Article","fieldsOfStudy":null,"isOpenAccess":false,"openAccessPdf":"","citationCount":"0","resultStr":null,"platform":"Semanticscholar","paperid":null,"PeriodicalName":"Journal of Engineering Thermophysics","FirstCategoryId":"5","ListUrlMain":"https://link.springer.com/article/10.1134/S1810232825010151","RegionNum":4,"RegionCategory":"工程技术","ArticlePicture":[],"TitleCN":null,"AbstractTextCN":null,"PMCID":null,"EPubDate":"","PubModel":"","JCR":"Q3","JCRName":"ENGINEERING, MECHANICAL","Score":null,"Total":0}
引用次数: 0

Abstract

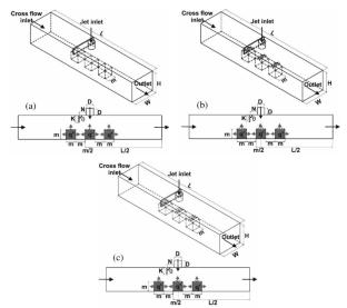
This study focused on the numerical investigation of heat transfer from various shaped copper plate surfaces exposed to a constant heat flux of 1000 W/m2. The analysis employed a combination of cross-flow and impinging jet flows. The numerical simulations were carried out by solving the energy and Navier–Stokes equations using the Ansys–Fluent computer program with the \(k\)-\(\varepsilon\) turbulence model. To guide the combined jet flow towards the heated surfaces in the channel, horizontal fins with 30° and 60° angles were placed in the channel. The channel height (\(H\)) was set at 4 times the diameter (\(D\)), and the fin distance from the jet inlet (\(N\)) was equal to \(D\). Different fin lengths of \(D\)\(1.166D\), and \(1.333D\) (K) were utilized in the channels. The study considered three types of fluids: water, 2% CuO-Water, and 0.02% GO-Water nanofluids. The upper and lower surfaces of the channel and the fin were assumed to be adiabatic, and the Reynolds number of the flow ranged from 5000 to 15000. The results of this work were compared with experimental studies from the literature, and good agreement was found between them. Unlike previous studies, this research explored the effects of fin lengths and fin angles on heat transfer from differently shaped surfaces and the flow structures created by the fins in the channels, using GO-Water and CuO-Water nanofluids. The results were presented in terms of the mean Nusselt number variations for each model surface. Additionally, velocity and temperature contour distributions of the combined jet flow along the channel for CuO-Water nanofluid were analyzed. Performance Evaluation Coefficient (PEC) values, along with average Nusselt number (Nu\(_{m})\) and surface temperature (\(T_{m})\) values, were assessed at different Reynolds numbers for all three patterned surfaces in the channels. At Re = 5000 and \(K=D\), there were significant increases in Nu\(_{m}\) values for cube, roofed, and square hollow model surfaces when using a 60° fin and GO-Water nanofluid compared to channels with water flow and no fins.

Abstract Image

基于不同组合射流通道设计和纳米流体的增热研究
本文主要研究了在1000 W/m2恒定热通量下,不同形状的铜板表面的换热问题。分析采用了交叉流和撞击射流的组合。利用Ansys-Fluent软件求解能量方程和Navier-Stokes方程,采用\(k\) - \(\varepsilon\)湍流模型进行了数值模拟。为了引导组合射流流向通道中的受热表面,在通道中放置了30°和60°角的水平翅片。通道高度(\(H\))设为直径(\(D\))的4倍,翅片与射流入口的距离(\(N\))等于\(D\)。在通道中使用了不同长度的\(D\)、\(1.166D\)和\(1.333D\) (K)。该研究考虑了三种类型的流体:水,2% CuO-Water, and 0.02% GO-Water nanofluids. The upper and lower surfaces of the channel and the fin were assumed to be adiabatic, and the Reynolds number of the flow ranged from 5000 to 15000. The results of this work were compared with experimental studies from the literature, and good agreement was found between them. Unlike previous studies, this research explored the effects of fin lengths and fin angles on heat transfer from differently shaped surfaces and the flow structures created by the fins in the channels, using GO-Water and CuO-Water nanofluids. The results were presented in terms of the mean Nusselt number variations for each model surface. Additionally, velocity and temperature contour distributions of the combined jet flow along the channel for CuO-Water nanofluid were analyzed. Performance Evaluation Coefficient (PEC) values, along with average Nusselt number (Nu\(_{m})\) and surface temperature (\(T_{m})\) values, were assessed at different Reynolds numbers for all three patterned surfaces in the channels. At Re = 5000 and \(K=D\), there were significant increases in Nu\(_{m}\) values for cube, roofed, and square hollow model surfaces when using a 60° fin and GO-Water nanofluid compared to channels with water flow and no fins.
本文章由计算机程序翻译,如有差异,请以英文原文为准。
求助全文
约1分钟内获得全文 求助全文
来源期刊
Journal of Engineering Thermophysics
Journal of Engineering Thermophysics THERMODYNAMICS-ENGINEERING, MECHANICAL
CiteScore
2.30
自引率
12.50%
发文量
0
审稿时长
3 months
期刊介绍: Journal of Engineering Thermophysics is an international peer reviewed journal that publishes original articles. The journal welcomes original articles on thermophysics from all countries in the English language. The journal focuses on experimental work, theory, analysis, and computational studies for better understanding of engineering and environmental aspects of thermophysics. The editorial board encourages the authors to submit papers with emphasis on new scientific aspects in experimental and visualization techniques, mathematical models of thermophysical process, energy, and environmental applications. Journal of Engineering Thermophysics covers all subject matter related to thermophysics, including heat and mass transfer, multiphase flow, conduction, radiation, combustion, thermo-gas dynamics, rarefied gas flow, environmental protection in power engineering, and many others.
×
引用
GB/T 7714-2015
复制
MLA
复制
APA
复制
导出至
BibTeX EndNote RefMan NoteFirst NoteExpress
×
提示
您的信息不完整,为了账户安全,请先补充。
现在去补充
×
提示
您因"违规操作"
具体请查看互助需知
我知道了
×
提示
确定
请完成安全验证×
copy
已复制链接
快去分享给好友吧!
我知道了
右上角分享
点击右上角分享
0
联系我们:info@booksci.cn Book学术提供免费学术资源搜索服务,方便国内外学者检索中英文文献。致力于提供最便捷和优质的服务体验。 Copyright © 2023 布克学术 All rights reserved.
京ICP备2023020795号-1
ghs 京公网安备 11010802042870号
Book学术文献互助
Book学术文献互助群
群 号:604180095
Book学术官方微信