Morphometric evaluation of middle ear anatomical structures using full volume (12 × 9) CBCT scans: A retrospective study in Navi Mumbai.

National journal of maxillofacial surgery Pub Date : 2024-09-01 Epub Date: 2024-11-16 DOI:10.4103/njms.njms_10_23
Simran N Verma, Bhakti S Patil, Deepa A Das
{"title":"Morphometric evaluation of middle ear anatomical structures using full volume (12 × 9) CBCT scans: A retrospective study in Navi Mumbai.","authors":"Simran N Verma, Bhakti S Patil, Deepa A Das","doi":"10.4103/njms.njms_10_23","DOIUrl":null,"url":null,"abstract":"<p><strong>Introduction: </strong>The tympanic cavity contains three tiny bones, the malleus, incus, and stapes, which have a fundamental role in the transmission of sound. Recent research emphasizes the use of CBCT for the anatomic study of the temporal bone. The information about middle ear anatomy on CBCT scans is meager; hence, this retrospective study was conducted to identify and determine the various morphometrical parameters of the malleus using CBCT which can be helpful during reconstructive procedures for the otologic surgeon.</p><p><strong>Materials and methods: </strong>The retrospective study was performed on 200 subjects (101 M and 99 F) in the Department of Oral and Maxillofacial Radiology. CBCT images of 200 subjects were studied in all planes to identify ossicular chain and the malleus to investigate the morphometric parameters in Indian Subjects.</p><p><strong>Result: </strong>The average of morphometric parameters shows that the mean length of the malleus is 7.2 mm, the mean width of the head of the malleus is 3.02 mm, length of superior semicircular canal is 4.90 mm, and length of external auditory canal is 19.15 mm in Navi Mumbai population.</p><p><strong>Conclusion: </strong>The obtained morphometric data of the malleus through our study will help the prosthesis maker in the formation of various implants and grafts required to treat various ear diseases.</p>","PeriodicalId":101444,"journal":{"name":"National journal of maxillofacial surgery","volume":"15 3","pages":"489-493"},"PeriodicalIF":0.0000,"publicationDate":"2024-09-01","publicationTypes":"Journal Article","fieldsOfStudy":null,"isOpenAccess":false,"openAccessPdf":"https://www.ncbi.nlm.nih.gov/pmc/articles/PMC11737569/pdf/","citationCount":"0","resultStr":null,"platform":"Semanticscholar","paperid":null,"PeriodicalName":"National journal of maxillofacial surgery","FirstCategoryId":"1085","ListUrlMain":"https://doi.org/10.4103/njms.njms_10_23","RegionNum":0,"RegionCategory":null,"ArticlePicture":[],"TitleCN":null,"AbstractTextCN":null,"PMCID":null,"EPubDate":"2024/11/16 0:00:00","PubModel":"Epub","JCR":"","JCRName":"","Score":null,"Total":0}
引用次数: 0

Abstract

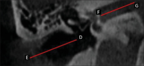
Introduction: The tympanic cavity contains three tiny bones, the malleus, incus, and stapes, which have a fundamental role in the transmission of sound. Recent research emphasizes the use of CBCT for the anatomic study of the temporal bone. The information about middle ear anatomy on CBCT scans is meager; hence, this retrospective study was conducted to identify and determine the various morphometrical parameters of the malleus using CBCT which can be helpful during reconstructive procedures for the otologic surgeon.

Materials and methods: The retrospective study was performed on 200 subjects (101 M and 99 F) in the Department of Oral and Maxillofacial Radiology. CBCT images of 200 subjects were studied in all planes to identify ossicular chain and the malleus to investigate the morphometric parameters in Indian Subjects.

Result: The average of morphometric parameters shows that the mean length of the malleus is 7.2 mm, the mean width of the head of the malleus is 3.02 mm, length of superior semicircular canal is 4.90 mm, and length of external auditory canal is 19.15 mm in Navi Mumbai population.

Conclusion: The obtained morphometric data of the malleus through our study will help the prosthesis maker in the formation of various implants and grafts required to treat various ear diseases.

Abstract Image

Abstract Image

Abstract Image

利用全容积(12 × 9) CBCT扫描对中耳解剖结构的形态计量学评价:一项回顾性研究。
鼓室由锤骨、砧骨和镫骨三根细小的骨头组成,它们在声音的传递中起着重要的作用。最近的研究强调使用CBCT对颞骨进行解剖研究。CBCT扫描中耳解剖信息贫乏;因此,本回顾性研究旨在利用CBCT识别和确定外踝的各种形态参数,以帮助耳科外科医生进行重建手术。材料与方法:回顾性研究口腔颌面放射科200例(101例M, 99例F)。研究了200名印度受试者的全平面CBCT图像,以识别听骨链和锤骨,探讨了印度受试者的形态学参数。结果:新孟买人群的形态计量学参数平均值显示,外耳道长度为19.15 mm,上半规管长度为4.90 mm,外耳道长度为3.02 mm,外耳道长度为7.2 mm。结论:通过我们的研究获得的锤骨形态计量学数据将有助于假体制造商形成治疗各种耳部疾病所需的各种种植体和移植物。
本文章由计算机程序翻译,如有差异,请以英文原文为准。
求助全文
约1分钟内获得全文 求助全文
来源期刊
CiteScore
1.20
自引率
0.00%
发文量
0
×
引用
GB/T 7714-2015
复制
MLA
复制
APA
复制
导出至
BibTeX EndNote RefMan NoteFirst NoteExpress
×
提示
您的信息不完整,为了账户安全,请先补充。
现在去补充
×
提示
您因"违规操作"
具体请查看互助需知
我知道了
×
提示
确定
请完成安全验证×
copy
已复制链接
快去分享给好友吧!
我知道了
右上角分享
点击右上角分享
0
联系我们:info@booksci.cn Book学术提供免费学术资源搜索服务,方便国内外学者检索中英文文献。致力于提供最便捷和优质的服务体验。 Copyright © 2023 布克学术 All rights reserved.
京ICP备2023020795号-1
ghs 京公网安备 11010802042870号
Book学术文献互助
Book学术文献互助群
群 号:604180095
Book学术官方微信